Honda Civic manuals

Subaru Legacy BN/BS (2015-2019) Service Manual: Component

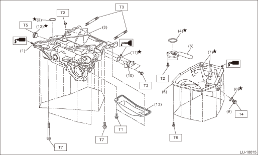
1. OIL PAN AND STRAINER

(1)

Oil pan upper

(9)

Drain plug

Tightening torque: N·m (kgf-m, ft-lb)

(2)

O-ring

(10)

Oil level switch

T1:

5 (0.5, 3.7)

(3)

Baffle plate

(11)

O-ring

T2:

6.4 (0.7, 4.7)

(4)

O-ring

(12)

Plug

T3:

10 (1.0, 7.4)

(5)

Oil strainer

(13)

Clutch housing cover (MT model)

T4:

41.7 (4.3, 30.8)

(6)

Oil pan

T5:

90 (9.2, 66.4)

(7)

Oil pan seal ring

T6:

Oil Pan and Strainer > INSTALLATION

(8)

Drain plug gasket

T7:

Oil Pan and Strainer > INSTALLATION

2. OIL FILTER AND OIL LEVEL GAUGE

(1)

Oil filter

(7)

Oil level gauge

(13)

Gasket

(2)

Oil pump union

(8)

O-ring

(3)

Generator cord stay

(9)

Oil level gauge guide

Tightening torque: N·m (kgf-m, ft-lb)

(4)

Oil filler cap

(10)

O-ring

T1:

6.4 (0.7, 4.7)

(5)

Gasket

(11)

Oil pressure switch

T2:

18 (1.8, 13.3)

(6)

Chain cover

(12)

Engine oil temperature sensor

T3:

45 (4.6, 33.2)

Preparation tool
1. SPECIAL TOOLILLUSTRATIONTOOL NUMBERDESCRIPTIONREMARKS18460AA050CHECK BOARDUsed for inspecting the oil level switch. — (Newly adopted tool)SUBARU SELECT MONITOR 4Used for setting of each function ...

Oil level switch
...

Other materials:

Dtc p0451 evap system (cpc) pressure sensor/switch circuit range/performance
DTC DETECTING CONDITION:Detected when two consecutive driving cycles with fault occur.CAUTION:After servicing or replacing faulty parts, perform Clear Memory Mode Clear Memory Mode > OPERATION, and Inspection Mode Inspection Mode > PROCEDURE.STEPCHECKYESNO1.CHECK FOR ANY OTHER DTC ON DISPLAY.Is an ...

© 2017-2026 Copyright www.sulegacy.com