Honda Civic manuals

Subaru Legacy BN/BS (2015-2019) Service Manual: Fuel procedure

1. RELEASING OF FUEL PRESSURE

WARNING:

Place “NO OPEN FLAMES” signs near the working area.

CAUTION:

Be careful not to spill fuel.

1. Remove the fuse of fuel pump from main fuse box.

2. Start the engine and run it until it stalls.

3. After the engine stalls, crank it for five more seconds.

4. Turn the ignition switch to OFF.

5. Install the fuse of fuel pump to the main fuse box.

2. DRAINING FUEL (WITH SUBARU SELECT MONITOR)

WARNING:

Place “NO OPEN FLAMES” signs near the working area.

CAUTION:

Be careful not to spill fuel.

NOTE:

If the fuel pump cannot be driven, refer to the procedures for draining from the fuel filler hose. Fuel > PROCEDURE

Be careful not to let the battery run-out.

Be aware that the fuel may remain in the fuel tank after draining the fuel.

1. Release the fuel pressure. Fuel > PROCEDURE

2. Remove the clip (A) securing the fuel delivery tube.

3. Attach the ST to the fuel pipe assembly, and push the ST in the direction of arrow mark to disconnect the fuel delivery tube (B).

ST 42099AE000QUICK CONNECTOR RELEASE

CAUTION:

Be careful not to spill fuel.

Catch the fuel from the tubes using a container or cloth.

4. Connect ST to the fuel delivery tube.

ST 18471AA000FUEL PIPE ADAPTER

5. Connect the gasoline proof hose to ST and put the end of the hose in the container.

6. Drive the fuel pump and drain the fuel using Subaru Select Monitor.

CAUTION:

Be careful not to spill fuel.

NOTE:

For detailed operation procedures, refer to “PC application help for Subaru Select Monitor”.

7. Install the related parts in the reverse order after draining the fuel.

CAUTION:

Be careful not to spill fuel.

Catch the fuel from the tubes using a container or cloth.

Check that there is no damage or dust on the quick connector. If necessary, clean the seal surface of the pipe.

Make sure that the quick connector is securely connected.

3. DRAINING FUEL (THROUGH THE FUEL FILLER HOSE)

Sedan model

WARNING:

Place “NO OPEN FLAMES” signs near the working area.

CAUTION:

Be careful not to spill fuel.

Fuel may remain in the fuel filler pipe. Drain the fuel from the fuel filler pipe through the fill opening using the gasoline proof pump and the gasoline proof hose (o10 or less) before the operation.

NOTE:

Be aware that the fuel may remain in the fuel tank after draining the fuel.

1. Lift up the vehicle.

2. Remove the rear sub frame. Rear Sub Frame > REMOVAL

3. Open the fuel filler lid and remove the fuel filler cap.

4. Drain the fuel from the fuel filler pipe through the filler opening using the gasoline proof pump and the gasoline proof hose (o10 or less).

5. Disconnect the fuel filler hoses from the fuel filler pipe.

CAUTION:

Be careful not to spill fuel.

Catch the fuel from hoses using a container or cloth.

6. Set the container under the vehicle and insert the gasoline proof hose (o10 or less) into the fuel filler hose to drain the fuel.

CAUTION:

Be careful not to spill fuel.

7. Install the related parts in the reverse order after draining the fuel.

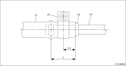
NOTE:

Correctly insert the fuel filler hose to the spool, and then install the clamp as shown.

Tightening torque:

2.5 N·m (0.3 kgf-m, 1.8 ft-lb)

(1)

Fuel filler hose

(3)

Spool

(4)

Fuel filler pipe

(2)

Clamp

OUTBACK model

WARNING:

Place “NO OPEN FLAMES” signs near the working area.

CAUTION:

Be careful not to spill fuel.

Fuel may remain in the fuel filler pipe. Drain the fuel from the fuel filler pipe through the fill opening using the gasoline proof pump and the gasoline proof hose (o10 or less) before the operation.

NOTE:

Be aware that the fuel may remain in the fuel tank after draining the fuel.

1. Open the fuel filler lid and remove the fuel filler cap.

2. Lift up the vehicle.

3. Drain the fuel from the fuel filler pipe through the filler opening using the gasoline proof pump and the gasoline proof hose (o10 or less).

4. Disconnect the fuel filler hoses from the fuel filler pipe.

CAUTION:

Be careful not to spill fuel.

Catch the fuel from hoses using a container or cloth.

5. Set the container under the vehicle and insert the gasoline proof hose (o10 or less) into the fuel filler hose to drain the fuel.

CAUTION:

Be careful not to spill fuel.

6. Install the related parts in the reverse order after draining the fuel.

NOTE:

Correctly insert the fuel filler hose to the spool, and then install the clamp as shown.

Tightening torque:

2.5 N·m (0.3 kgf-m, 1.8 ft-lb)

(1)

Fuel filler hose

(3)

Spool

(4)

Fuel filler pipe

(2)

Clamp

Fuel injection (fuel systems)(h6do)
...

Fuel system trouble in general inspection
TroublePossible causeCorrective actionInsufficient fuel supply to fuel injectora. Fuel pump does not operate. Defective terminal contactInspect contact, especially ground, and tighten it securely. ...

Other materials:

Dtc p0154 a/f / o2 sensor circuit no activity detected bank 2 sensor 1
DTC DETECTING CONDITION:Immediately at fault recognitionCAUTION:After servicing or replacing faulty parts, perform Clear Memory Mode Clear Memory Mode > OPERATION, and Inspection Mode Inspection Mode > PROCEDURE.WIRING DIAGRAM:• Engine Electrical System ENGINE TYPE EZ (WITHOUT PUSH BUTTON ST ...

© 2017-2025 Copyright www.sulegacy.com