Honda Civic manuals

Subaru Legacy BN/BS (2015-2019) Owners Manual: Fuses

CAUTION Never replace a fuse with one having a higher rating or with material other than a fuse because serious damage or a fire could result.

The fuses are designed to melt during an overload to prevent damage to the wiring harness and electrical equipment. The fuses are located in two fuse boxes.

Fuses

One is located under the instrument panel behind the fuse box cover on the driver's seat side. To remove the cover, pull it out.

Fuses

The other one (main fuse box) is housed in the engine compartment

Fuses

1) Spare fuses

The spare fuses are stored in the main fuse box cover in the engine compartment.

Fuses

The fuse puller is stored in the main fuse box in the engine compartment. To pick up the fuse puller, pull it out while pinching the puller head with your fingers

Fuses

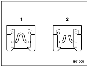
1) Good
2) Blown

If any lights, accessories or other electrical controls do not operate, inspect the corresponding fuse. If a fuse has blown, replace it.

  1.  Turn the ignition switch to the "LOCK"/ "OFF" position and turn off all electrical accessories.
  2.  Remove the fuse box cover.
  3.  Determine which fuse may be blown.

    Look at the back side of each fuse box cover and refer to "Fuses and circuits" F12-10.

Fuses

  1. Pull out the fuse with the fuse puller.
  2.  Inspect the fuse. If it has blown, replace it with a spare fuse of the same rating.
  3.  If the same fuse blows again, this indicates that its system has a problem.

Contact your SUBARU dealer for repairs.

Battery
WARNING  Before beginning work on or near any battery, be sure to extinguish all cigarettes, matches, and lighters. Never expose a battery to an open flame or electric ...

Installation of accessories
Always consult your SUBARU dealer before installing fog lights or any other electrical equipment in your vehicle. Such accessories may cause the electronic system to malfunction if they are incorr ...

Other materials:

Dtc p0037 a/f / o2 heater control circuit low bank 1 sensor 2
DTC DETECTING CONDITION:Detected when two consecutive driving cycles with fault occur.CAUTION:After servicing or replacing faulty parts, perform Clear Memory Mode Clear Memory Mode > OPERATION, and Inspection Mode Inspection Mode > PROCEDURE.WIRING DIAGRAM:• Engine Electrical System ENGINE T ...

© 2017-2025 Copyright www.sulegacy.com