Honda Civic manuals

Subaru Legacy BN/BS (2015-2019) Service Manual: Inspection

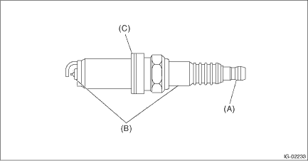
1. Check the spark plug for abnormalities. If defective, replace the spark plug.

(A)

Terminal damage

(B)

Crack or damage in insulator

(C)

Damaged gasket

2. Check the spark plug electrode and condition of the insulator. If abnormal, check and repair the cause and replace the spark plug.

(1) Normal:

Brown to grayish-tan deposits and slight electrode wear indicate correct spark plug heat range.

(2) Carbon fouled:

Dry fluffy carbon deposits on the insulator and electrode are mostly caused by slow-speed driving in town, weak ignition, too rich fuel mixture, etc.

(3) Oil fouled:

Wet black deposits show oil entrance into combustion chamber through worn piston rings or increased clearance between valve guides and valve stems.

(4) Overheating:

A white or light gray insulator with black or brown spots and bluish burnt electrodes indicate engine overheating, wrong selection of fuel, or loose spark plugs.

3. Using a nylon brush, etc., clean and remove the carbon or oxide deposits from the spark plug. If deposits are too stubborn, replace the spark plugs. After cleaning the spark plugs, check the spark plug gap “L” using a gap gauge. If it is not within the standard, replace the spark plug.

NOTE:

Never use a plug cleaner.

Do not use a metal brush as it may damage the electrode area.

Spark plug gap L:

Standard

1.0 — 1.1 mm (0.039 — 0.043 in)

Removal
Spark plug:Refer to “SPECIFICATION” for spark plug. General Description > SPECIFICATION1. RH SIDE1. Remove the collector cover.(1) Carefully pull up the rear of collector cover at two pos ...

Installation
1. RH SIDE1. Install the spark plugs using a spark plug socket.Tightening torque:21 N·m (2.1 kgf-m, 15.5 ft-lb)(A)Ratchet handle(B)Extension bar(C)Universal joint(D)Spark plug socket 2. Inst ...

Other materials:

Bulkhead wiring harness (in engine compartment) rh location
ConnectorConnecting toNo.PoleColorAreaNo.DescriptionAB162YB-1 Front sub sensor RHB35BB-2 Mass air flow & intake air temperature sensorB62GrB-3 Front ABS wheel speed sensor RHB1116GrB-4T14Transmission cordB125GrB-4T3Inhibitor switch (engine type FB)12GrB-4T3Inhibitor switch (engine type EZ)B2220GrB-4 ...

© 2017-2025 Copyright www.sulegacy.com