Honda Civic manuals

Subaru Legacy BN/BS (2015-2019) Service Manual: Installation

1. Install the gear shift lever assembly.

Tightening torque:

18 N·m (1.8 kgf-m, 13.3 ft-lb)

2. Lift up the vehicle.

3. Install the cover cable assembly.

Tightening torque:

7.5 N·m (0.8 kgf-m, 5.5 ft-lb)

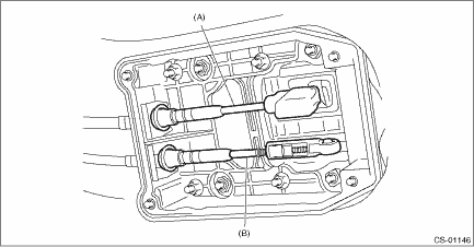
4. Connect the MT gear shift cable and MT gear select cable.

CAUTION:

Be careful not to deform the cable inner.

Do not twist the cable inner excessively.

(A)

MT gear shift cable

(B)

MT gear select cable

5. Install the plate cable assembly.

Tightening torque:

7.5 N·m (0.8 kgf-m, 5.5 ft-lb)

6. Install the center exhaust cover.

Tightening torque:

18 N·m (1.8 kgf-m, 13.3 ft-lb)

7. Install the center exhaust pipe. Center Exhaust Pipe > INSTALLATION

8. Lower the vehicle.

9. Install the console front side cover assemblies RH and LH. Console Box > INSTALLATION

10. Install the console front cover assembly and the console box. Console Box > INSTALLATION

11. Install the gear shift knob by rotating it clockwise from 14 to 18 turns so that the distance “A” from the gear shift knob end surface to the slider end surface becomes the specified value or more.

CAUTION:

Do not turn the gear shift knob excessively to prevent it from being damaged.

Specification:

11.5 mm (0.435 in)

12. Connect the ground terminal to battery sensor. NOTE

13. Make sure the gears can be shifted accurately into each gear. Adjust the MT gear select cable, if the gears cannot be shifted correctly. MT Gear Select Cable > ADJUSTMENT

Inspection
1. Check the parts for deformation, damage and wear. Repair or replace if necessary. Compare the removed parts with new parts to confirm if there are damages or not.2. Check that selecting to the reve ...

Select cable
...

Other materials:

Vehicle Dynamics Control operation indicator light
The indicator light flashes during activation of the skid suppression function and during activation of the traction control function. NOTE  The light may remain illuminated for a short period of time after the engine has been started, especially in cold weather. This does not ind ...

© 2017-2026 Copyright www.sulegacy.com