Honda Civic manuals

Subaru Legacy BN/BS (2015-2019) Service Manual: Installation

1. Before installation, check the universal joint assembly - steering. Universal Joint > INSPECTION

2. Adjust the tilt position of the steering column to the neutral position.

CAUTION:

Always place the tilt lever to the lock position after the steering column is adjusted.

3. Unfasten the seat belt and make the steering wheel turn freely.

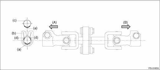
4. Install the universal joint assembly - steering to the column shaft.

CAUTION:

Be sure to align the protrusion section (a) of the column shaft side with the cutout (a) of the serration. If another cutout portions (d) are used for alignment, the bolt of the universal joint assembly - steering cannot be assembled.

Be sure to follow the tightening order and tightening torque of the universal joint assembly - steering to avoid the steering effort from becoming heavy. After confirming that the steering column position is in the neutral position, tighten the universal joint assembly - steering.

Always place the tilt lever to the lock position after the steering column is adjusted.

(1) Match the alignment marks that have been marked when removing with the column shaft (c) and the cutout portion (a) at the serrations of the yoke (b).

(2) Connect the universal joint assembly - steering with the column shaft.

(A)

Column shaft side

(B)

Gearbox side

(3) Install the universal joint assembly - steering to the serrations of the gearbox assembly by matching the alignment marks that have been marked when removing and the cutout portion of the guide (a).

(4) Tighten the bolts on the gearbox side first, and then the column shaft side.

Tightening torque:

24 N·m (2.4 kgf-m, 17.7 ft-lb)

Clearance:

Universal joint assembly - steering coupling to adjacent parts: 15 mm (0.59 in) or more

5. Install the front exhaust pipe. (H6 model only) Front Exhaust Pipe > INSTALLATION

6. Install the under cover - front. Front Under Cover > INSTALLATION

CAUTION:

Install the under cover - front so that the front end of the under cover (b) comes inside the bumper face - front (a).

Inspection
Check for wear, damage or any other faults.1. Check the universal joint assembly - steering for excessive looseness.Service limit:Play of the universal joint assembly - steering: 0 mm (0 in)2. Measure ...

Power rear gate system (diagnostics)
...

Other materials:

Dtc p2746 intermediate shaft speed sensor "b" circuit range/performance
DTC DETECTING CONDITION:Immediately at fault recognitionTROUBLE SYMPTOM:• Standing start problems• Shock occurs when engaging the lockup clutch.• Shock occurs when selecting shift position.1. ENGINE TYPE FBSTEPCHECKYESNO1.CHECK DTC.Read the DTC using Subaru Select Monitor.Besides D ...

© 2017-2026 Copyright www.sulegacy.com