Honda Civic manuals

Subaru Legacy BN/BS (2015-2019) Service Manual: Installation

1. Install the generator bracket to the engine.

Tightening torque:

36 N·m (3.7 kgf-m, 26.6 ft-lb)

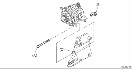
2. Temporarily attach the bolts (A) and generator plate (B) to the generator.

3. Temporarily fit the generator in the groove (C) of the A/C compressor bracket.

4. Temporarily fit the collector cover bracket.

5. Tighten the generator and collector cover bracket in the numerical order.

Tightening torque:

T1: 6.4 N·m (0.7 kgf-m, 4.7 ft-lb)

T3: 25 N·m (2.5 kgf-m, 18.4 ft-lb)

6. Install the harness cover (C) to the collector cover bracket.

7. Connect the connector (A) to the generator, and install the terminal (B).

Tightening torque:

T2: 15 N·m (1.5 kgf-m, 11.1 ft-lb)

8. Install the tensioner assembly.

Tightening torque:

20 N·m (2.0 kgf-m, 14.8 ft-lb)

9. Install the V-belts. V-belt > INSTALLATION

10. Connect the ground terminal to battery sensor. NOTE

11. Install the collector cover.

Assembly
NOTE:After assembling, manually turn the pulley to check that the rotor rotates smoothly.1. Use the following procedures to install the rectifier.(1) Remove old silicone grease on the mating surface o ...

Inspection
1. DIODECAUTION:There is the possibility of damaging the diodes if a mega-tester (used to measure high voltages) or a similar measuring instrument is used. Never use a mega tester or equivalent for th ...

Other materials:

Dtc b1430 in-vehicle (post evaporator) temperature sensor circuit open
DTC DETECTING CONDITION:In-vehicle sensor circuit is open.TROUBLE SYMPTOM:In-vehicle air temperature is falsely recognized as 25°C (77°F), and the compartment temperature is adjusted.WIRING DIAGRAM:Air conditioning system Air Conditioning System > WIRING DIAGRAMSTEPCHECKYESNO1.CHECK C ...

© 2017-2026 Copyright www.sulegacy.com