Honda Civic manuals

Subaru Legacy BN/BS (2015-2019) Owners Manual: Locking and unlocking from the outside

Subaru Legacy BN/BS (2015-2019) Owners Manual / Keys and doors / Door locks / Locking and unlocking from the outside

NOTE If you unlock the driver's door with a key (including a mechanical key) and open the door while the alarm system is armed, the alarm system is triggered and the vehicle's horn sounds. In this case, perform any of the following operations: Models with "keyless access with push-button start system":

  •  Press any button on the access key (except when the access key battery is discharged).
  •  Turn the push-button ignition switch to the "ACC" position.
  •  Carry the access key and perform either of the following procedures.
  •  Grip the front door handle
  •  Press the rear gate opener button

Models without "keyless access with push-button start system":

  •  Press any button on the remote transmitter (except when the transmitter battery is discharged).
  •  Insert the key into the ignition switch and turn the ignition switch to the "ON" position.

For details about the alarm system, refer to "Alarm system" .

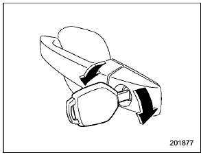
Locking and unlocking from the outside

To lock the driver's door from the outside with the key, turn the key toward the front.

To unlock the door, turn the key toward the rear. Pull the outside door handle to open an unlocked door

Locking and unlocking from the outside

NOTE The mechanical key is directional. If the key cannot be inserted, change the direction that the grooved side is facing and insert it again.

Locking without the key

Locking without the key

  1.  Rotate the lock lever forward.
  2.  Close the door.

To lock the door from the outside without the key, rotate the lock lever forward and then close the door.

Locking without the key

Locking without the key

  1.  Press the front side of the power door locking switch.
  2.  Close the door.

To lock the door from the outside using the power door locking switch, press the front side of the switch ("LOCK" side) and then close the door. In this case, all closed doors and the rear gate (Outback) are locked at the same time.

Always make sure that all doors and the rear gate are locked before leaving your vehicle.

NOTE Make sure that you do not leave the key inside the vehicle before locking the doors from the outside without the key

Door locks
...

Locking and unlocking from the inside
WARNING Keep all doors locked when you drive, especially when small children are in your vehicle. Along with the proper use of seatbelts and child restraints, locking the door ...

Other materials:

Dtc p0757 shift solenoid "b" stuck on
DTC DETECTING CONDITION:Detected when two consecutive driving cycles with fault occur.TROUBLE SYMPTOM:• Vibration occurs at shift change.• Shift control malfunction1. ENGINE TYPE FBWIRING DIAGRAM:CVT control system CVT Control System > WIRING DIAGRAMSTEPCHECKYESNO1.CHECK DTC.Read the DT ...

© 2017-2026 Copyright www.sulegacy.com