Honda Civic manuals

Subaru Legacy BN/BS (2015-2019) Service Manual: Removal

CAUTION:

Do not allow brake fluid to come in contact with the painted surface of the vehicle body. If it does, wash off with water and wipe away completely.

Before handling the airbag system components, always refer to “CAUTION” of “General Description” in “AIRBAG SYSTEM”. General Description > CAUTION

1. Disconnect the ground terminal from the battery sensor, and wait for at least 60 seconds before starting work. NOTE

2. Remove the vacuum hose.

3. Remove the master cylinder assembly. Master Cylinder > REMOVAL

4. Remove the bolts and nuts, and then remove the clutch bracket. (MT model)

5. Remove the ECM and ECM bracket.

H4 model: Engine Control Module (ECM) > REMOVAL

H6 model: Engine Control Module (ECM) > REMOVAL

6. Remove the brake pipe assembly (a).

(1) Disconnect the starter connector (b) and harness clip (c).

(2) Remove the brake pipe assembly (a) from the pipe clip (d).

7. Remove the cover assembly - instrument panel LWR driver. Instrument Panel Lower Cover > REMOVAL

8. Remove the panel - knee guard. Steering Column > REMOVAL

9. Remove the column assembly - steering. Steering Column > REMOVAL

10. Remove the snap pin (a) and clevis pin (b), and remove the operating rod from the brake pedal.

CAUTION:

Be careful not to apply excessive force to the operating rod when handling the operating rod. The angle may change by ±3°, and it may result in damage to power piston cylinder.

Do not change the push rod length.

Do not reuse clevis pins. Always replace with a new part.

11. Remove the vacuum booster assembly.

CAUTION:

Do not disassemble the vacuum booster assembly.

Make sure that the booster shell and vacuum pipe are not subject to strong impacts.

Be careful not to drop the vacuum booster assembly. If the vacuum booster assembly is dropped accidentally, replace it.

Be careful when placing the vacuum booster assembly on floor.

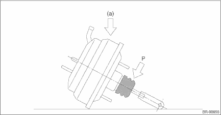
If external force (a) is applied from above when the vacuum booster assembly is placed in this position, the resin portion as indicated by “P” may become damaged.

(1) Remove the nuts, and then remove the vacuum booster assembly.

Brake booster
...

Inspection
1. OPERATION CHECK WHEN NOT USING MEASURING DEVICESCAUTION:When checking operation, be sure to apply the parking brake securely.When an operation check is performed with no measuring devices, a faulty ...

Other materials:

List of diagnostic trouble code (dtc) list
DTCItemNoteC2021TIRE 1 AIR PRESSURE LOW (NORMAL MODE) Diagnostic Procedure with Diagnostic Trouble Code (DTC) > DTC C2021 TIRE 1 AIR PRESSURE LOW (NORMAL MODE)C2022TIRE 2 AIR PRESSURE LOW (NORMAL MODE) Diagnostic Procedure with Diagnostic Trouble Code (DTC) > DTC C2022 TIRE 2 AIR PRESSURE LOW (NORMA ...

© 2017-2026 Copyright www.sulegacy.com