Honda Civic manuals

Subaru Legacy BN/BS (2015-2019) Service Manual: Suspension inspection

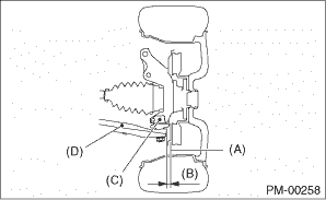
1. FRONT SUSPENSION BALL JOINT

1. Lift up the vehicle until front wheels are off ground.

2. Grasp the bottom of tire and move it in and out in axial direction. If movement (B) is observed between the brake disc cover (A) and end of front arm (D), ball joint (C) may be excessively worn.

3. Next, grasp the end of front arm (C) and move it up and down. If movement (A) between the housing (D) and front arm (C) boss is observed, ball joint (B) may be excessively worn.

4. If the relative movement is observed in the preceding two steps, remove and inspect the ball joint. If the free play exceeds standard value, replace the ball joint. Front Ball Joint

5. Damage of dust boots

Visually inspect the ball joint dust boots. Replace if ball joint is damaged.

NOTE:

When the front arm ball joint is removed or replaced, check the toe-in of front wheel. If it is not within the specified value, adjust the toe-in. Wheel Alignment

(A)

Dust boots

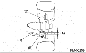
2. REAR SUSPENSION BALL JOINT

1. Lift up the vehicle until rear wheels are off ground.

2. Grasp the bottom of tire and move it in and out in axial direction.

3. If movement is observed between the brake disc cover (A) and end of front lateral link (B), ball joint may be excessively worn.

4. Grasp the end of front lateral link (B) and move it up and down. If movement is observed between the housing (C) and front lateral link (B) boss, ball joint may be excessively worn.

5. If the movement related to the previous two steps is observed, replace the front lateral link. Front Lateral Link

6. Damage of dust boots

Visually inspect the ball joint dust boots. Replace if front lateral link is damaged.

7. Check upper arm ball joint in the same manner.

(A)

Upper arm ball joint

3. FRONT, REAR SUSPENSION BUSHING

Apply pressure with tire lever etc, and inspect the bushing for excessive wear or damage. If defective, replace the bushing.

Front suspension bushing

Rear suspension bushing

4. WHEEL ARCH HEIGHT

Refer to “FS” section for wheel arch height inspection. Wheel Alignment > INSPECTION

5. WHEEL ALIGNMENT

Measure and adjust the front and rear wheel alignment at a time. Refer to “FS” section for measurement and adjustment of wheel alignment. Wheel Alignment > INSPECTION

6. OIL LEAKAGE OF STRUT AND SHOCK ABSORBER

Visually inspect the front strut and rear shock absorber for oil leakage. Replace the front strut and rear shock absorber if oil leaks excessively.

7. TIGHTNESS OF BOLTS AND NUTS

Check the bolts and nuts for looseness. Retighten the bolts and nuts to specified torque. If the self-locking nuts and bolts are removed, replace them with new parts. General Description General Description

8. DAMAGE TO SUSPENSION PARTS

Check the following parts and the fastening portion of the vehicle body for deformation or excessive rusting which impairs the suspension. Thoroughly remove the deposits of the lower spring seat of strut where dust or mud are likely piled up. If necessary, replace the damaged parts with new parts. If minor rust formation, pitting, etc. are noted, remove the rust and take rust prevention measure.

Front suspension

Front arm

Cradle

Strut

Rear suspension

Sub frame

Front lateral link

Rear lateral link

Upper arm

Trailing link

Shock absorber

In the area where salt is sprayed to melt snow on a road in winter, check suspension parts for damage caused by rust every 12 months after lapse of 60 months. Take rust prevention measures as required.

Steering system (power steering) inspection
1. STEERING WHEEL1. Set the steering wheel in a straight-ahead position, and check the wheel spokes to make sure they are correctly set in their specified positions.2. Lightly turn the steering wheel ...

Tire inspection and rotation inspection
Refer to “WT” section for tire inspection and rotation. Tire and Wheel > INSPECTION ...

Other materials:

Installation
1. Install the reduction drive gear to secondary pulley.2. Select the reduction drive gear shim. Reduction Drive Gear > ADJUSTMENT3. Install the dish plates, spring retainers, and selected reduction drive gear shims.NOTE:Install the dish plate in the correct direction.(A)Reduction drive gear shim(B ...

© 2017-2026 Copyright www.sulegacy.com