Honda Civic manuals

Subaru Legacy BN/BS (2015-2019) Service Manual: Transfer clutch pressure test inspection

1. Lift up the vehicle.

2. Remove the test plug.

3. Set the ST1, ST2, ST3 and ST4 to the transmission.

CAUTION:

Be careful when setting tools so that the hoses do not touch the exhaust pipes.

NOTE:

Use ST1 ADAPTER HOSE B with genuine union screw (part No. 801914010) and gasket (part No. 803914060) attached.

Use ST3 PRESSURE GAUGE ADAPTER with genuine O-ring (part No. 806911080) attached.

ST1 34099AC020ADAPTER HOSE B
ST2 34099AC010ADAPTER HOSE A
ST3 18681AA000PRESSURE GAUGE ADAPTER
ST4 498575400OIL PRESSURE GAUGE ASSY

(A)

Gasket (genuine part)

(B)

Union screw (genuine part)

(A)

O-ring (genuine part)

4. Lower the vehicle.

5. Connect the Subaru Select Monitor to the data link connector and read the current data.

6. Check the transfer clutch pressure as in secondary pressure (line pressure) test. Secondary Pressure (Line Pressure) Test

NOTE:

Turn OFF the X mode switch and perform inspection.

If oil pressure is not produced or it does not change, the control valve body may be malfunctioning.

Range position

ON

Duty ratio

(%)

Accelerator pedal opening angle

(%)

Standard transfer clutch pressure

kPa (kgf/cm2, psi)

D

95 — 100

Fully opened (100)

1,000 — 1,200

(10.2 — 12.2,

145 — 174)

60

Adjust ON Duty ratio to 60%.

400 — 700

(4.1 — 7.1,

58 — 102)

0

Fully closed (0)

N or P

0

Fully closed (0)

0

7. Lift up the vehicle.

8. Remove the ST.

9. Install the test plug using ST1 and ST2.

NOTE:

Use new O-rings.

Apply CVTF to the O-rings.

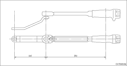
Tighten the test plug while directly aligning ST2 and torque wrench.

ST1 18270AA040SOCKET
ST2 73099SG000SPECIAL TOOL CONDENSER

Using the following formula, calculate the tightening torque for a torque wrench.

T2 = L2/(L1 + L2) - T1

T1: 25 N·m (2.5 kgf-m, 18.4 ft-lb)

L1: ST2 length 0.1 m (3.94 in) (a)

L2: Torque wrench length (b) m (in)

[Required torque setting]

T2: Tightening torque: N·m (kgf-m, ft-lb)

10. Lower the vehicle.

Time lag test inspection
NOTE:When the select lever is shifted while the engine is idling, there will be a certain time elapse or lag before shock is felt. This symptom helps to check the condition of forward clutch and rever ...

Air breather hose
...

Other materials:

Dtc p2109 throttle/pedal position sensor "a" minimum stop performance
NOTE:For the diagnostic procedure, refer to DTC P2101. Diagnostic Procedure with Diagnostic Trouble Code (DTC) > DTC P2101 THROTTLE ACTUATOR "A" CONTROL MOTOR CIRCUIT RANGE/PERFORMANCE1. OUTLINE OF DIAGNOSISJudge as NG when full close point learning cannot conducted or abnormal value is detected.2. ...

© 2017-2025 Copyright www.sulegacy.com