Honda Civic manuals

Subaru Legacy BN/BS (2015-2019) Service Manual: Wiring diagram

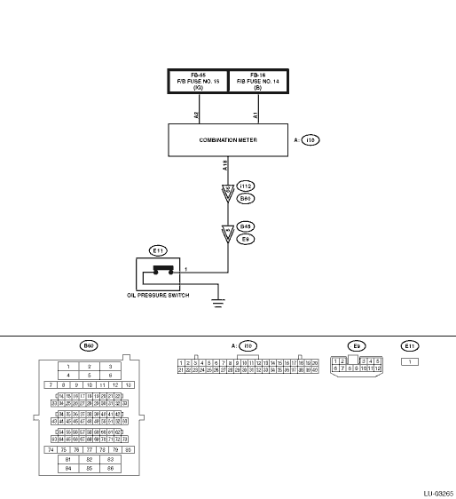
Oil pressure warning system Oil Pressure Warning Light System > WIRING DIAGRAM

Oil pressure system
...

Inspection
STEPCHECKYESNO1.CHECK DTC.Is engine DTC displayed- Read Diagnostic Trouble Code (DTC)Check the appropriate DTC using the “List of Diagnostic Trouble Code (DTC)”. List of Diagnostic Troub ...

Other materials:

Dtc u0452 invalid data received from restraints control module
DTC DETECTING CONDITION:Defective data was transmitted from steering angle sensor.TROUBLE SYMPTOM:VDC CM does not operate normally.STEPCHECKYESNO1.CHECK PERFORMING OF BASIC DIAGNOSTIC PROCEDURE.Was the basic diagnostic procedure performed up to STEP 8- Diagnostic Procedure with Diagnostic Trouble Co ...

© 2017-2025 Copyright www.sulegacy.com