Honda Civic manuals

Subaru Legacy BN/BS (2015-2019) Service Manual: Assembly

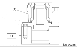
1. Install the hub unit COMPL - rear axle to the ST securely.

Preparation tool:

ST: HUB STAND (28099PA080)

(1)

Hub unit COMPL - rear axle

2. Using a press, press new bolts - hub (b) until their seating surfaces contact the hub unit COMPL - rear axle (a).

NOTE:

Use the 12 mm (0.47 in) dia. holes in the HUB STAND to prevent bolts from tilting.

Removal
1. Lift up the vehicle, and then remove the rear wheels.2. Remove the nut - axle.CAUTION:Do not loosen the nut - axle while the rear axle is loaded. Doing so may damage the hub unit COMPL.(1) Lift the ...

Installation
1. Place the back plate - rear brake between the housing assembly - rear axle and the hub unit COMPL - rear axle, and tighten the bolt.CAUTION:• Do not get closer the tool which charged magnetis ...

Other materials:

Dtc b1808 short in passenger's airbag (to +b)
DIAGNOSIS START CONDITION:Ignition voltage is 10 V to 16 V.DTC DETECTING CONDITION:Short circuit failure in power supply (shorted in main harness power supply, shorted in passenger’s airbag power supply, shorted in airbag CM internal circuit power supply)CAUTION:Before performing diagnosis, re ...

© 2017-2026 Copyright www.sulegacy.com