Honda Civic manuals

Subaru Legacy BN/BS (2015-2019) Owners Manual: Auto-dimming mirror/compass with HomeLink (models with EyeSight system)

Subaru Legacy BN/BS (2015-2019) Owners Manual / Instruments and controls / Mirrors / Auto-dimming mirror/compass with HomeLink (models with EyeSight system)

Auto-dimming mirror/compass with HomeLink (models with EyeSight system)

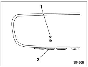
1) Display
2) HomeLink buttons
3) Switch

During nighttime driving, the auto-dimming feature senses distracting glare from vehicle headlights behind you and automatically dims to eliminate the glare and help preserve your vision.

To Operate the Auto-Dimming Feature

Press the " " switch to turn the autodimming feature on/off. The auto-dimming feature is enabled when the switch's green LED indicator is on. The autodimming feature will default to on with each ignition cycle.

To Operate the Compass Feature

  1.  To turn the compass feature on/off, press and hold the " " switch for more than 3 seconds or until the display turns on/off. The compass feature will default to on with each ignition cycle.
  2.  If the display reads "C", slowly drive the vehicle in circles until compass is calibrated.

To Operate the Compass Feature

Compass calibration zones

  1. To adjust for compass zone variance: (1) Find your current location and zone number on the map.

    (2) Press and hold the " " switch for more than 6 seconds or until a zone number appears in the display.

    (3) Once the zone number appears in the display, toggle the " " switch again until your current location zone number appears. After you stop pressing the switch, your new zone number will be saved. Within a few seconds, the display will show a compass direction.

  2.  If the vehicle's magnetics have changed or if the compass appears inaccurate, recalibrate the compass. Press and hold the " " switch for more than 9 seconds or until a "C" appears in the display. Once a "C" appears in the display, slowly drive the vehicle in circles until compass is calibrated.

HomeLink Wireless Control System

The HomeLink Wireless Control System provides a convenient way to replace up to three hand-held radiofrequency remotes used to activate devices such as gate operators, garage door openers, entry door locks, security systems, even home lighting. The below steps are generic programming instructions; for Genie and Sommer garage door openers please go directly to the HomeLink website. Additional information and programming videos can be found at www.HomeLink.com and www.youtube.com/HomeLinkGentex.

CAUTION
  •  Before programming HomeLink to a garage door opener or gate operator, make sure that people and objects are out of the way of the device to prevent potential harm or damage.
  •  When programming a garage door opener, it is advised to park outside of the garage.
  •  Do not use HomeLink with any garage door opener that lacks safety stop and reverse features as required by U.S. federal safety standards (this includes any garage door opener model manufactured before April 1, 1982). A garage door that cannot detect an object signaling the door to stop and reverse does not meet current U.S. federal safety standards.
  •  It is also recommended that a new battery be placed in the hand-held remote (garage door opener remote) of the device for quicker and more accurate training.
  •  Turn the ignition switch to the "ON" or "ACC" position before programming and/or operating HomeLink.
  •  Keep the hand-held remote (garage door opener remote) of the device you are programming for use in other vehicles as well as for future HomeLink programming.

    It is also suggested that upon the sale of the vehicle, the programmed HomeLink buttons be erased for security purposes.

    Refer to "Erasing HomeLink buttons" .

Programming a New HomeLink button

Programming a New HomeLink button

1) Indicator Light
2) HomeLink buttons

  1. Press and release the HomeLink button that you would like to program.

    The HomeLink indicator light will flash orange slowly (if not, refer to "Erasing HomeLink buttons" .

Programming a New HomeLink button

1) Garage door opener remote

  1. Position the hand-held remote (garage door opener remote) 1 to 3 inches (2 to 8 cm) away from the HomeLink button that you would like to program.

NOTE Some hand-held remotes (garage door opener remotes) may actually train better at a distance of 6 to 12 inches (15 to 20 cm). Keep this in mind if you have difficulty with the programming process.

Programming a New HomeLink button

  1. While the HomeLink indicator light is flashing orange, press and hold the handheld remote button. Continue pressing the hand-held remote button until the HomeLink indicator light changes from orange to green. You may now release the hand-held remote button.

NOTE Some devices may require you to replace this "Programming a New HomeLink button" step 3 with procedures noted in the "Gate Operator / Canadian Programming" section. Refer to "Gate Operator / Canadian Programming" .

Programming a New HomeLink button

1) Indicator Light

  1. Press the HomeLink button that you would like to program and observe the indicator light.
  •  If the indicator light remains constant green, your device should operate when the HomeLink button is pressed. At this point, if your device operates, programming is complete.
  •  If the indicator light rapidly flashes green, firmly press, hold for two seconds and release the HomeLink button up to three times to complete the programming process. At this point if your device operates, programming is complete. If the device does not operate, continue with the next step of the programming instructions.

Programming a New HomeLink button

1) "Learn" button

  1. At the garage door opener motor, (security gate motor, etc...) locate the "Learn", "Smart", or "Program" button. This can usually be found where the hanging antenna wire is attached to the motorhead unit (see the device's manual to identify this button). The name and color of the button may vary by manufacturer.

NOTE A ladder and/or second person may simplify the following steps.

  1. Firmly press and release the "Learn", "Smart", or "Program" button. You now have 30 seconds in which to complete step 7.

Programming a New HomeLink button

  1. Return to the vehicle and firmly press, hold for 2 seconds and release the HomeLink button up to three times. At this point programming is complete and your device should operate when the HomeLink button is pressed and released.

Programming a New HomeLink button

1) Status Indicators

  1. If status indicator arrows appear next to the indicator light, please refer to "Garage Door Two-Way Communication" .

In the event that there are still programming difficulties or questions, additional HomeLink information and programming videos can be found at www.HomeLink.com and www.youtube.com/HomeLinkGentex. For Genie and Sommer garage door openers please go directly to the HomeLink website.

Gate Operator / Canadian Programming

Canadian radio-frequency laws require transmitter remote signals to "time-out" (or quit) after several seconds of transmission, which may not be long enough for HomeLink to pick up the signal during programming. Similar to this Canadian law, some U.S. gate operators are designed to "time-out" in the same manner.

The indicator LED on the hand-held remote will go off when the device times out, indicating that it has finished transmitting.

If you live in Canada or you are having difficulties programming a gate operator or garage door opener by using the programming procedures, replace "Programming a New HomeLink button" step 3 with the following: While the HomeLink indicator light is flashing orange, press and release ("cycle") your device' s hand-held remote every two seconds until the HomeLink indicator light changes from orange to green. You may now release the handheld remote button.

NOTE If programming a garage door opener or gate operator, it is advised to unplug the device during the "cycling" process to prevent possible overheating.

Proceed with "Programming a New HomeLink button" step 4 to complete

Using HomeLink

To operate, simply press and release the programmed HomeLink button. Activation will now occur for the trained device (i.e. garage door opener, gate operator, security system, entry door lock, home/ office lighting, etc.). For convenience, the hand-held remote of the device may also be used at any time.

Erasing HomeLink buttons

To erase programming from the three buttons (individual buttons cannot be erased but can be "reprogrammed" as outlined below), follow the step noted: Press and hold the two outer HomeLink buttons for at least 10 seconds. The LED indicator will change from continuously lit to rapidly flashing. Release both buttons.

Do not hold for longer than 20 seconds.

HomeLink is now ready to be programmed at any time beginning with "Programming a New HomeLink button" - step 1.

Reprogramming a Single HomeLink button

To program a previously trained button, follow these steps:

  1.  Press and hold the desired HomeLink button. DO NOT release the button.
  2.  The indicator light will begin to slowly flash orange after 20 seconds. The HomeLink button can be released at this point. Proceed with "Programming a New HomeLink button" - step 3.
  3.  If you do not complete the programming of a new device to the button, it will revert to the previously stored programming.

Garage Door Two-Way Communication

HomeLink has the capability of communicating with your garage door opener.

HomeLink can receive and display "closing" or "opening" status messages from compatible garage door opener systems.

At any time, HomeLink can also recall and display the last recorded status communicated by the garage door opener to indicate your garage door being "closed" or "opened".

HomeLink has the capability of receiving this communication from the garage door opener at a range up to 820 feet (250 m).

Range may be reduced by obstacles such as houses or trees. You may have to slow your vehicle speed to successfully receive the garage door opener communication.

Programming Two-Way Communication

Programming Two-Way Communication

1) Status Indicators

Within 5 seconds after programming a new HomeLink button, both of Home- Link's garage door status indicators will flash rapidly green indicating that the garage door two-way communication has been enabled. If your garage door status indicators flashed, two-way communication programming is complete.

If the garage door status indicators do not flash, additional HomeLink information and programming videos can be found online at www.HomeLink.com and www.youtube.com/HomeLinkGentex

Using Two-Way Communication

Using Two-Way Communication

1) Status Indicator

Recall and display (at any time) the last recorded garage door status message communicated to HomeLink by simultaneously pressing HomeLink buttons 1 and 2 for 2 seconds. HomeLink will display the last recorded status for 3 seconds.

If two-way communication programming is successful, HomeLink will display the status of your garage door opener with arrow indicators (see below).

Using Two-Way Communication

1) Garage Door Opener CLOSING (Blinking Orange)
2) Garage Door Opener CLOSED (Solid Green)
3) Garage Door Opener OPENING (Blinking Orange)
4) Garage Door Opener OPENED (Solid Green)

Certification

In the event that there are still programming difficulties or questions, additional HomeLink information and programming videos can be found at www.HomeLink.com, www.youtube.com/HomeLinkGentex, or by calling the toll-free HomeLink-hotline at 1-800-355-3515.

U.S.-spec. models

FCC ID: NZLAECHL5

CAUTION FCC WARNING Changes or modifications not expressly approved by the party responsible for compliance could void the user's authority to operate the equipment.

This device complies with part 15 of the FCC Rules. Operation is subject to the following two conditions: (1) This device may not cause harmful interference, and (2) this device must accept any interference received, including interference that may cause undesired operation.

Canada-spec. models

HomeLink and the HomeLink house are registered trademarks of Gentex Corporation.

WARNING
  •  When p r o gramming the HomeLink Wireless Control System, you may be operating a garage door opener or other device. Make sure that people and objects are out of the way of the garage door or other device to prevent potential harm or damage.
  •  Do not use the HomeLink Wireless Control System with a garage door opener that lacks the safety stop and reverse feature as required by applicable safety standards. A garage door opener which cannot detect an object, signaling the door to stop and reverse, does not meet these safety standards. Using a garage door opener without these features increases risk of serious injury or death. For more information, consult the HomeLink website at www.homelink.com or call 1-800-355-3515.
Auto-dimming mirror with HomeLink (except U.S.-spec. models - if equipped)
1) HomeLink button 1 2) HomeLink button 2 3) LED 4) HomeLink button 3 5) Sensor 6) Automatic dimming on button 7) Automatic dimming off button The auto-dimming mirror has an anti-glare fea ...

Outside mirrors
Convex mirror (passenger side) WARNING Objects look smaller in a convex mirror and farther away than when viewed in a flat mirror. Do not use the convex mirror to judge the dist ...

Other materials:

Diagnostic procedure with cancel code dtc b2328 rear radar internal failure (radar misalignment)
DETECTING CONDITION:• Excessive impact was given to the installation area of the radar sensor, which resulted in deviation of the radar sensor axis.• Mounting bracket for the radar sensor is deformed.• Defective radar sensorTROUBLE SYMPTOMS:• All functions of BSD/RCTA are tem ...

© 2017-2026 Copyright www.sulegacy.com