Honda Civic manuals

Subaru Legacy BN/BS (2015-2019) Service Manual: Component

1. FRONT HOOD

(1)

Hood COMPL - front

(5)

Cover - front fender UPR

Tightening torque: N·m (kgf-m, ft-lb)

(2)

Striker - front hood

(6)

Stay ASSY - front hood

T1:

20 (2.0, 14.8)

(3)

Buffer - front hood

(7)

Stopper - front hood

T2:

25 (2.5, 18.4)

(4)

Insulator - front hood

(8)

Hinge COMPL - front hood

T3:

33 (3.4, 24.3)

2. FRONT FENDER

(1)

Cover - A pillar ASSY

(2)

Fender COMPL - front

Tightening torque: N·m (kgf-m, ft-lb)

T:

7.5 (0.8, 5.5)

3. FRONT DOOR

(1)

Molding - door sash front

(8)

Sealing cover - front door

Tightening torque: N·m (kgf-m, ft-lb)

(2)

Weather strip outer - front door

(9)

Checker ASSY - front door

T1:

7.5 (0.8, 5.5)

(3)

Panel ASSY - front door

(10)

Grommet - lower

T2:

25 (2.5, 18.4)

(4)

Cover B pillar - front door INN

(11)

Lower hinge - front door

T3:

30 (3.1, 22.1)

(5)

Plate - door

(12)

Upper hinge - front door

T4:

33 (3.4, 24.3)

(6)

Stopper - rubber

(13)

Grommet - upper

(7)

Front door inner pad

(14)

Cover sash - inner front

4. REAR DOOR

(1)

Molding - door sash rear (OUTBACK model)

(9)

Checker ASSY - rear door

Tightening torque: N·m (kgf-m, ft-lb)

(2)

Molding - door sash rear (sedan model)

(10)

Stopper - rubber

T1:

7.5 (0.8, 5.5)

(3)

Weather strip outer - rear door

(11)

Catcher - rear door

T2:

25 (2.5, 18.4)

(4)

Panel ASSY - rear door

(12)

Grommet - lower

T3:

30 (3.1, 22.1)

(5)

Cover - C pillar ASSY (sedan model)

(13)

Lower hinge - rear door

T4:

33 (3.4, 24.3)

(6)

Cover C pillar - rear door INN

(14)

Grommet - upper

T5:

38 (3.9, 28.0)

(7)

Cover B pillar - rear door INN

(15)

Upper hinge - rear door

(8)

Sealing cover - rear door

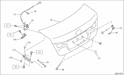
5. TRUNK LID PANEL

(1)

Cable ASSY - trunk lid

(7)

Cushion - license

(13)

Striker - trunk lid

(2)

Lock ASSY - trunk lid

(8)

Stopper - trunk lid LWR

(3)

Clip

(9)

Stay ASSY - trunk lid

Tightening torque: N·m (kgf-m, ft-lb)

(4)

Trunk lid COMPL

(10)

Stopper - hinge

T1:

7.5 (0.8, 5.5)

(5)

Key lock - trunk lid

(11)

Hinge ASSY - trunk lid

T2:

25 (2.5, 18.4)

(6)

Clamp - key trunk lid

(12)

Clip

6. REAR GATE

NOTE:

For the components of power rear gate, refer to the power rear gate system. General Description > COMPONENT

(1)

Hinge - rear gate

(7)

Cover - rear gate

Tightening torque: N·m (kgf-m, ft-lb)

(2)

Panel - rear gate

(8)

Stopper rubber

T1:

7.5 (0.8, 5.5)

(3)

Striker - rear gate

(9)

Stay ASSY - rear gate

T2:

16 (1.6, 11.8)

(4)

Latch & actuator - rear gate

(10)

Clip

T3:

20 (2.0, 14.8)

(5)

Buffer - rear gate (panel - rear gate side)

(11)

Drip - rear gate

T4:

25 (2.5, 18.4)

(6)

Buffer - rear gate (body side)

7. WEATHER STRIP

(1)

Panel ASSY - front door

(4)

Panel ASSY - rear door (sedan model)

(7)

Panel ASSY - rear door (OUTBACK model)

(2)

Weather strip - front door LWR

(5)

Weather strip - rear door LWR

(8)

Weather strip - rear door (OUTBACK model)

(3)

Weather strip - front door

(6)

Weather strip - rear door (sedan model)

(1)

Weather strip - body side flange front

(3)

Weather strip - trunk lid (sedan model)

(4)

Weather strip - rear gate (OUTBACK model)

(2)

Weather strip - body side flange rear

Caution
Exterior body panels are heavy. When removing or installing, do not drop and damage the panels. Do not damage the panel painting surface. ...

Rear door
...

Other materials:

Dtc u0327 software incompatibility with vehicle security control module
DTC DETECTING CONDITION:No data is received from keyless access CM.TROUBLE SYMPTOM:Cooperation control of keyless access does not operate properly.STEPCHECKYESNO1.CHECK PERFORMING OF BASIC DIAGNOSTIC PROCEDURE.Was the basic diagnostic procedure performed up to STEP 8- Diagnostic Procedure with Diagn ...

© 2017-2025 Copyright www.sulegacy.com