Honda Civic manuals

Subaru Legacy BN/BS (2015-2019) Service Manual: Component

1. INTAKE MANIFOLD ASSEMBLY 1

(1)

Intake manifold protector

(5)

Manifold absolute pressure sensor

Tightening torque: N·m (kgf-m, ft-lb)

(2)

Cushion

(6)

O-ring

T1:

3.4 (0.3, 2.5)

(3)

Gasket

(7)

Purge control solenoid valve

T2:

6.4 (0.7, 4.7)

(4)

Intake manifold ASSY

T3:

25 (2.5, 18.4)

2. INTAKE MANIFOLD ASSEMBLY 2

(1)

Fuel delivery pipe

(6)

Seal ring

Tightening torque: N·m (kgf-m, ft-lb)

(2)

Vacuum hose

(7)

Rubber

T:

6.4 (0.7, 4.7)

(3)

Fuel pipe ASSY

(8)

O-ring

(4)

Fuel pipe

(9)

Cylinder head plate

(5)

Fuel injector

3. THROTTLE BODY

(1)

Gasket

(2)

Throttle body

Tightening torque: N·m (kgf-m, ft-lb)

T:

8 (0.8, 5.9)

4. CRANKSHAFT POSITION, CAMSHAFT POSITION AND KNOCK SENSORS

(1)

Oil control solenoid

(5)

O-ring

Tightening torque: N·m (kgf-m, ft-lb)

(2)

Camshaft position sensor

(6)

Back-up ring

T1:

6.4 (0.7, 4.7)

(3)

Crankshaft position sensor

(7)

O-ring

T2:

25 (2.5, 18.4)

(4)

Knock sensor

5. FUEL TANK

(1)

Fuel tank

(13)

Fuel sub level sensor protector

(24)

Cushion

(2)

Fuel tank band RH

(14)

Fuel sub level sensor upper plate

(25)

Cushion

(3)

Fuel tank band LH

(15)

Fuel sub level sensor upper plate cushion

(26)

Cushion

(4)

Stopper RH

(16)

Fuel sub level sensor

(27)

Cushion

(5)

Stopper LH

(17)

Fuel sub level sensor filter

(28)

Cushion

(6)

Heat shield cover

(18)

Fuel sub level sensor gasket

(7)

Fuel tank protector RH

(19)

Fuel pump upper plate

Tightening torque: N·m (kgf-m, ft-lb)

(8)

Fuel tank protector LH

(20)

Fuel upper plate cushion

T1:

4.4 (0.4, 3.2)

(9)

Self-locking nut

(21)

Fuel pump ASSY

T2:

9 (0.9, 6.6)

(10)

Fuel delivery tube

(22)

Fuel level sensor

T3:

18 (1.8, 13.3)

(11)

Fuel delivery sub tube

(23)

Fuel pump gasket

T4:

33 (3.4, 24.3)

(12)

Tube clamp

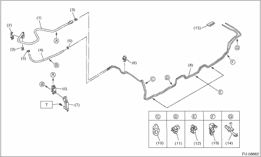
6. FUEL LINE

Fuel line 1

(1)

Fuel delivery tube

(7)

Tube clamp bracket

(13)

Pipe clamp

(2)

Tube clamp

(8)

Fuel pipe ASSY

(14)

Pipe clamp

(3)

Retainer

(9)

Fuel pipe front grommet

(15)

Fuel pipe rear grommet

(4)

Evaporation hose

(10)

Pipe clamp

(5)

Clip

(11)

Pipe clamp

Tightening torque: N·m (kgf-m, ft-lb)

(6)

Tube clamp

(12)

Pipe clamp

T:

7.5 (0.8, 5.5)

Fuel line 2

(1)

Clip

(12)

Circulate hose

(23)

Tube clamp

(2)

Purge hose

(13)

Clip

(24)

Leak check valve ASSY

(3)

Purge pipe

(14)

Circulate tube

(25)

Drain tube

(4)

Pipe clamp

(15)

Drain filter

(26)

Canister

(5)

Clip

(16)

Drain tube

(27)

Canister protector

(6)

Air vent hose

(17)

Tube clamp

(7)

Air vent tube

(18)

Tube clamp

Tightening torque: N·m (kgf-m, ft-lb)

(8)

Clamp

(19)

Tube clamp

T1:

2 (0.2, 1.5)

(9)

Fuel filler hose

(20)

Drain tube

T2:

2.5 (0.3, 1.8)

(10)

Clamp

(21)

Purge tube

T3:

7.5 (0.8, 5.5)

(11)

Clip

(22)

Vent tube

T4:

8 (0.8, 5.9)

7. FUEL FILLER PIPE

(1)

Fuel filler cap

(8)

Fuel filler pipe bracket B

(15)

Grommet

(2)

Fuel filler pipe protector

(9)

Fuel filler pipe bracket C

(16)

Fuel filler pipe bracket A (without protector)

(3)

Clip

(10)

Clip

(4)

Neck holder A

(11)

Evaporation hose

Tightening torque: N·m (kgf-m, ft-lb)

(5)

Neck holder B

(12)

Grommet

T1:

1 (0.1, 0.7)

(6)

Fuel filler pipe

(13)

Evaporation pipe

T2:

7.35 (0.7, 5.4)

(7)

Fuel filler pipe bracket A (with protector)

(14)

Evaporation pipe protector

T3:

7.5 (0.8, 5.5)

*For the fuel filler pipe bracket A, either one with the protector or without the protector is installed depending on the specification.

8. FUEL PUMP

(1)

Fuel filter ASSY

(6)

Connector cable

(11)

Spring

(2)

O-ring

(7)

Fuel pump holder

(12)

Fuel chamber ASSY

(3)

O-ring

(8)

O-ring

(13)

Clip

(4)

Back-up ring

(9)

Spacer

(14)

Fuel level sensor

(5)

Pressure regulator

(10)

Fuel pump

(15)

Cushion

* When removing the cushion from the fuel chamber assembly, replace it with a new part.

Preparation tool
1. SPECIAL TOOLILLUSTRATIONTOOL NUMBERDESCRIPTIONREMARKS18471AA000FUEL PIPE ADAPTERUsed for draining fuel.42099AE000QUICK CONNECTOR RELEASEUsed for removing the quick connector of the fuel delivery tu ...

Intake manifold assembly
...

Other materials:

Dtc b1833 short in curtain shield airbag rh squib circuit (to +b)
DIAGNOSIS START CONDITION:Ignition voltage is 10 V to 16 V.DTC DETECTING CONDITION:Short circuit failure in power supply (shorted in main harness power supply, shorted in curtain airbag RH power supply, shorted in airbag CM internal circuit power supply)CAUTION:Before performing diagnosis, refer to ...

© 2017-2025 Copyright www.sulegacy.com