Honda Civic manuals

Subaru Legacy BN/BS (2015-2019) Service Manual: Component

1. HEATER COOLING UNIT

(1)

Packing - heater unit

(6)

Thermostat - cooling

(11)

Heater core

(2)

Expansion valve - cooling

(7)

Plate

(3)

Packing

(8)

Case - heater unit RH

Tightening torque: N·m (kgf-m, ft-lb)

(4)

Case - heater unit LH

(9)

Clamp

T:

3.5 (0.4, 2.6)

(5)

Evaporator ASSY - cooling

(10)

Cover

(1)

Motor - actuator mode

(8)

Aspirator

(15)

Hose - heater drain

(2)

Cover - actuator

(9)

Aspirator hose

(3)

Link plate

(10)

Motor ASSY - rear heater

Tightening torque: N·m (kgf-m, ft-lb)

(4)

Motor - actuator mix LH

(11)

Duct - foot assist

T:

7.5 (0.8, 5.5)

(5)

Heater cooling unit

(12)

Packing

(6)

Packing

(13)

Duct - foot driver

(7)

Motor - actuator mix RH

(14)

Case - heater lower

2. BLOWER MOTOR UNIT

(1)

Packing

(8)

Packing - blower

(14)

Filter

(2)

Air duct cover UPR

(9)

Case upper - blower

(15)

Filter cover

(3)

Air duct cover LWR

(10)

Case lower - blower

(16)

Blower motor ASSY

(4)

Shutter - heater

(11)

Control module

(5)

Lever

(12)

Power transistor (auto A/C model) or resistor (manual A/C model)

Tightening torque: N·m (kgf-m, ft-lb)

(6)

Link plate

(13)

Blower motor relay

T:

7.5 (0.8, 5.5)

(7)

Intake door actuator

3. CONTROL PANEL

(1)

Heater control ASSY

(2)

Control module cover

4. AIR CONDITIONING UNIT

H4 model

(1)

Condenser ASSY - air conditioner

(5)

Seal O-ring

Tightening torque: N·m (kgf-m, ft-lb)

(2)

Compressor ASSY

(6)

Pipe - evaporator cooling

T1:

7.5 (0.8, 5.5)

(3)

Hose - pressure suction

(7)

Clip - pipe

T2:

10 (1, 7.4)

(4)

Hose - pressure discharge

(8)

Clip

H6 model

(1)

Condenser ASSY - air conditioner

(5)

Seal O-ring

Tightening torque: N·m (kgf-m, ft-lb)

(2)

Compressor ASSY

(6)

Pipe - evaporator cooling

T1:

7.5 (0.8, 5.5)

(3)

Hose - pressure suction

(7)

Clip - pipe

T2:

10 (1, 7.4)

(4)

Hose - pressure discharge

(8)

Clip

5. HEATER HOSE

(1)

Hose - heater outlet

(3)

Clip

(4)

Clamp

(2)

Hose - heater inlet

*1: Engine side

*2: Heater core side

6. COMPRESSOR

H4 model

(1)

Bracket - connector

(4)

Bracket - air conditioner

Tightening torque: N·m (kgf-m, ft-lb)

(2)

Bracket - V-belt cover

(5)

V-belt (6 PK)

T1:

6.4 (0.7, 4.7)

(3)

Compressor ASSY

T2:

25 (2.5, 18.4)

T3:

36 (3.7, 26.6)

* Tighten the compressor assembly and the bracket - air conditioner in the numerical order as shown in the figure.

H6 model

(1)

Bracket ASSY - compressor

(4)

Bracket - air conditioner

Tightening torque: N·m (kgf-m, ft-lb)

(2)

Compressor ASSY

(5)

Bracket - connector

T1:

26.5 (2.7, 19.5)

(3)

V-belt (6 PK)

T2:

36 (3.7, 26.6)

7. HEATER DUCT

(1)

Duct - side ventilation LH

(4)

Nozzle - front defroster

(7)

Duct - center vent

(2)

Duct - side defroster LH

(5)

Duct - side defroster RH

(8)

Duct - center vent front

(3)

Grille - front defroster

(6)

Duct - side ventilation RH

(9)

Panel COMPL - instrument

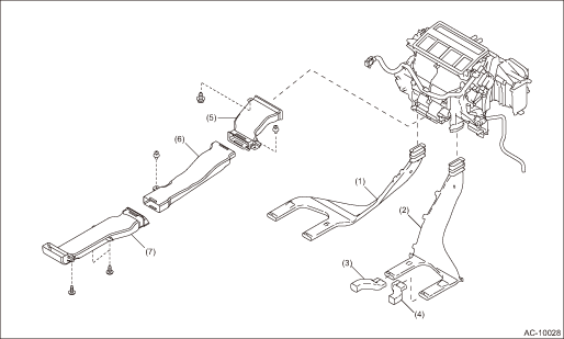
(1)

Duct - rear heater LH

(4)

Duct - extension RH

(6)

Duct - console center

(2)

Duct - rear heater RH

(5)

Duct - console front

(7)

Duct - console rear

(3)

Duct - extension LH

8. AIR VENT GRILLE

(1)

Panel COMPL - instrument

(4)

Grille ASSY - ventilation LH

(6)

Grille ASSY - rear heater

(2)

Grille ASSY - ventilation RH

(5)

End cover - console box

(7)

Console box outer

(3)

Grille ASSY - CTR ventilation

Location
Refer to “Electrical Component Location” for “HVAC SYSTEM (AUTO A/C) (DIAGNOSTICS)” section. Electrical Component Location ...

Heater and cooling unit
...

Other materials:

Secondary pressure (line pressure) test inspection
CAUTION:• Directly after the vehicle has been running or the engine has been idling for a long time, the CVTF is hot. Be careful not to burn yourself.• Make sure no other person is around the vehicle during secondary pressure (line pressure) test measurement.• After performing the ...

© 2017-2026 Copyright www.sulegacy.com