Honda Civic manuals

Subaru Legacy BN/BS (2015-2019) Service Manual: Component

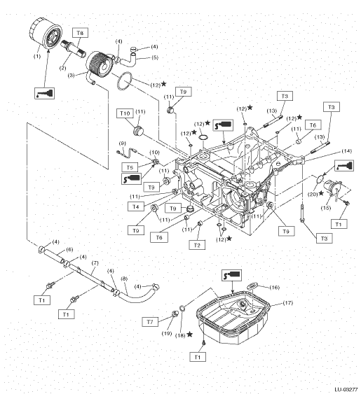
1. OIL PAN, OIL COOLER AND ENGINE OIL FILTER

(1)

Oil filter

(12)

O-ring

Tightening torque: N·m (kgf-m, ft-lb)

(2)

Oil cooler connector

(13)

Stud bolt

T1:

6.4 (0.7, 4.7)

(3)

Oil cooler

(14)

Oil pan upper

T2:

17 (1.7, 12.5)

(4)

Clamp

(15)

Oil level switch

T3:

18 (1.8, 13.3)

(5)

Water hose

(16)

Oil pan magnet

T4:

23 (2.3, 17.0)

(6)

Water hose

(17)

Oil pan lower

T5:

25 (2.5, 18.4)

(7)

Engine oil cooler water pipe

(18)

Gasket

T6:

34 (3.5, 25.1)

(8)

Water hose

(19)

Drain plug

T7:

44 (4.5, 32.5)

(9)

Oil pressure switch harness

(20)

O-ring

T8:

54 (5.5, 39.8)

(10)

Oil pressure switch

T9:

60 (6.1, 44.3)

(11)

Plug

T10:

90 (9.2, 66.4)

2. OIL PUMP

(1)

Idler sprocket

(5)

Oil pump

Tightening torque: N·m (kgf-m, ft-lb)

(2)

Oil pan upper

(6)

Stiffener

T1:

6.4 (0.7, 4.7)

(3)

O-ring

(7)

Strainer

T2:

13 (1.3, 9.6)

(4)

O-ring

T3:

24 (2.4, 17.7)

T4:

120 (12.2, 88.5)

Preparation tool
1. SPECIAL TOOLILLUSTRATIONTOOL NUMBERDESCRIPTIONREMARKS498547000OIL FILTER WRENCHUsed for removing and installing oil filter.18460AA050CHECK BOARDUsed for inspecting the oil level switch. — (Newly ...

Oil cooler
...

Other materials:

Dtc u0416 invalid data received from vehicle dynamics control module
DTC DETECTING CONDITION:Data from VDCCM is faulty.TROUBLE SYMPTOM:ABS warning light and VDC warning light illuminate.STEPCHECKYESNO1.CHECK PERFORMING OF BASIC DIAGNOSTIC PROCEDURE.Was the basic diagnostic procedure performed up to STEP 8- Diagnostic Procedure with Diagnostic Trouble Code (DTC) > DTC ...

© 2017-2025 Copyright www.sulegacy.com