Honda Civic manuals

Subaru Legacy BN/BS (2015-2019) Service Manual: Component

1. DOOR LOCK ASSEMBLY

(A)

Front

(B)

Rear

(1)

Grommet - screw

(9)

Key lock - door (driver’s seat only)

(17)

Frame ASSY - rear door outer

(2)

Remote ASSY - door

(10)

Spacer - door handle outer B

(3)

Cap remote

(11)

Spacer - door handle outer A

Tightening torque: N·m (kgf-m, ft-lb)

(4)

Latch & actuator ASSY - front

(12)

Frame ASSY - front door outer

T1:

6.5 (0.7, 4.8)

(5)

Handle - door outer (model with keyless access with push button start)

(13)

Striker - door

T2:

7.5 (0.8, 5.5)

(6)

Cover - handle front outer (passenger’s seat)

(14)

Screw

T3:

18 (1.8, 13.3)

(7)

Handle - door outer (model without keyless access with push button start)

(15)

Latch & actuator ASSY - rear

(8)

Cover - handle front outer (driver’s seat)

(16)

Cover - handle rear outer

2. REAR GATE LOCK AND TRUNK LID LOCK

(1)

Latch & actuator - rear gate

(5)

Cable ASSY - trunk lid

Tightening torque: N·m (kgf-m, ft-lb)

(2)

Striker - rear gate

(6)

Key cylinder (trunk lid only)

T1:

7.5 (0.8, 5.5)

(3)

Lock ASSY - trunk lid

(7)

Clamp - key trunk lid

T2:

25 (2.5, 18.4)

(4)

Striker - trunk lid

T3:

28 (2.9, 20.7)

3. FRONT HOOD LOCK

(1)

Lock ASSY - front hood

(3)

Bracket - opener handle

Tightening torque: N·m (kgf-m, ft-lb)

(2)

Cable - front hood

(4)

Striker - front hood

T1:

7.5 (0.8, 5.5)

T2:

33 (3.4, 24.3)

4. REMOTE OPENER

(1)

Cover - handle

(3)

Cable ASSY - fuel

Tightening torque: N·m (kgf-m, ft-lb)

(2)

Pull handle - opener

(4)

Protector - cable (OUTBACK model)

T:

7.5 (0.8, 5.5)

5. FUEL FLAP

(1)

Flap - COMPL fuel

(3)

Saucer - COMPL

Tightening torque: N·m (kgf-m, ft-lb)

(2)

Ring clip

T:

7.5 (0.8, 5.5)

6. KEYLESS ENTRY SYSTEM

(1)

Door switch

(3)

Body integrated unit

(5)

Keyless entry control module

(2)

Power window main switch

(4)

Keyless buzzer

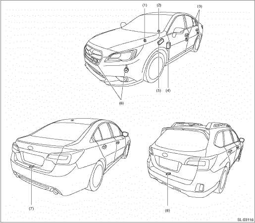
7. SECURITY SYSTEM

(1)

Horn relay (in main fuse box)

(4)

Body integrated unit

(7)

Trunk lid latch switch (sedan model)

(2)

Security indicator light (in combination meter)

(5)

Impact sensor (driver’s seat instrument panel side) (dealer option)

(8)

Rear gate latch switch (OUTBACK model)

(3)

Door switch

(6)

Horn

8. KEYLESS ACCESS WITH PUSH BUTTON START SYSTEM

NOTE:

Except for model without keyless access with push button start

Refer to “Electrical Component Location” of “KEYLESS ACCESS WITH PUSH BUTTON START SYSTEM (DIAGNOSTICS)” section. Electrical Component Location

Caution
• Before disconnecting connectors of sensors or units, be sure to disconnect the ground cable from battery. When replacing the electrical parts provided with memory functions that store contents ...

Ignition key lock
...

Other materials:

Inspection
1. Measure the resistance between connector terminals.Preparation tool:Circuit testerTerminal No.Inspection conditionsStandard1 — 4Switch OFF1 M- or moreSwitch ONLess than 1 -2. Apply battery voltage between the connector terminals to check lighting condition of illumination inside the switch.Term ...

© 2017-2025 Copyright www.sulegacy.com