Honda Civic manuals

Subaru Legacy BN/BS (2015-2019) Service Manual: Component

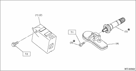
(1)

TPMS & keyless entry control module (model without keyless access with push button start system)

(4)

Transmitter (snap in type)

Tightening torque: N·m (kgf-m, ft-lb)

(2)

TPMS CM (model with keyless access with push button start system)

(5)

Valve

T1:

1.4 (0.1, 1.0)

(3)

Screw

T2:

7.5 (0.8, 5.5)

(1)

TPMS & keyless entry control module (model without keyless access with push button start system)

(2)

TPMS module ASSY (model with keyless access with push button start system)

Specification
(1)Inset(2)P.C.D.• Sedan modelTire sizeWheel sizeInsetmm (in)P.C.D.mm (in)Tire inflation pressure kPa(kgf/cm2, psi)Front wheelRear wheel225/50R18 95H18 - 71/2J55 (2.17)114.3 (4.50)230 (2.3, 33)2 ...

Preparation tool
1. GENERAL TOOLTOOL NAMEREMARKSAir pressure gaugeUsed for measuring tire air pressure.Dial gaugeUsed for measuring wheel runout.Wheel balancerUsed for adjusting wheel balance.Circuit testerUsed for me ...

Other materials:

Dtc b14a7 variable solenoid valve circuit
DTC DETECTING CONDITION:Variable flow change solenoid valve circuit is open or shortedTROUBLE SYMPTOM:Refrigerant pressure cannot be changed.WIRING DIAGRAM:Air conditioning system Air Conditioning System > WIRING DIAGRAMSTEPCHECKYESNO1.CHECK CONNECTOR.1) Check connecting condition of the A/C CM con ...

© 2017-2025 Copyright www.sulegacy.com