Honda Civic manuals

Subaru Legacy BN/BS (2015-2019) Service Manual: Specification

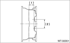
(1)

Inset

(2)

P.C.D.

Sedan model

Tire size

Wheel size

Inset

mm (in)

P.C.D.

mm (in)

Tire inflation pressure kPa

(kgf/cm2, psi)

Front wheel

Rear wheel

225/50R18 95H

18 - 71/2J

55 (2.17)

114.3 (4.50)

230 (2.3, 33)

220 (2.2, 32)

225/55R17 97V

17 - 71/2J

17 - 7J

55 (2.17)

230 (2.3, 33)

220 (2.2, 32)

T155/70D17 110M

17 - 4T

40 (1.57)

420 (4.2, 60)

OUTBACK model

Tire size

Wheel size

Inset

mm (in)

P.C.D.

mm (in)

Tire inflation pressure kPa

(kgf/cm2, psi)

Front wheel

Rear wheel

225/60R18 100H

18 - 7J

55 (2.17)

114.3 (4.50)

240 (2.4, 35)

230 (2.3, 33)

225/65R17 102H

17 - 7J

55 (2.17)

240 (2.4, 35)

230 (2.3, 33)

T155/80R17 101M

17 - 4T

40 (1.57)

420 (4.2, 60)

NOTE:

Size and inflation pressure of the standard equipment tire and temporary tire are described on the “Tire inflation pressure” label attached to the body side of the driver’s door.

1. SERVICE DATA

Part

Axial runout

Radial runout

Steel wheel

1.5 mm (0.059 in)

Aluminum wheel

1.0 mm (0.039 in)

Wheel balancing

Standard

Service limit

Dynamic unbalance

5 g (0.18 oz) or less

General description
...

Component
(1)TPMS & keyless entry control module (model without keyless access with push button start system)(4)Transmitter (snap in type)Tightening torque: N·m (kgf-m, ft-lb)(2)TPMS CM (model with keyle ...

Other materials:

Dtc p013f o2 sensor delayed response - lean to rich bank 1 sensor 2
NOTE:For the diagnostic procedure, refer to DTC P013A. Diagnostic Procedure with Diagnostic Trouble Code (DTC) > DTC P013A O2 SENSOR SLOW RESPONSE - RICH TO LEAN BANK 1 SENSOR 21. OUTLINE OF DIAGNOSISDetect the delayed response of rear oxygen sensor output for lean > rich.After the deceleration fue ...

© 2017-2026 Copyright www.sulegacy.com