Honda Civic manuals

Subaru Legacy BN/BS (2015-2019) Service Manual: Component

1. FRONT EXHAUST PIPE AND CENTER EXHAUST PIPE

(1)

Front exhaust pipe

(15)

Front exhaust pipe upper cover A

(29)

Front exhaust pipe side cover G

(2)

Front catalytic converter

(16)

Front exhaust pipe upper cover B

(30)

Front exhaust pipe side cover H

(3)

Center exhaust pipe

(17)

Front exhaust pipe upper cover C

(31)

Band

(4)

Rear catalytic converter

(18)

Front exhaust pipe upper cover D

(5)

Gasket

(19)

Front exhaust pipe lower cover A

Tightening torque: N·m (kgf-m, ft-lb)

(6)

Gasket

(20)

Front exhaust pipe lower cover B

T1:

13 (1.3, 9.6)

(7)

Center exhaust pipe upper cover

(21)

Front exhaust pipe lower cover C

T2:

18 (1.8, 13.3)

(8)

Band

(22)

Front exhaust pipe lower cover D

T3:

23 (2.3, 17.0)

(9)

Center exhaust pipe lower cover A

(23)

Front exhaust pipe side cover A

T4:

30 (3.1, 22.1)

(10)

Center exhaust pipe lower cover B

(24)

Front exhaust pipe side cover B

T5:

35 (3.6, 25.8)

(11)

Hanger bracket (CVT model)

(25)

Front exhaust pipe side cover C

T6:

42.5 (4.3, 31.3)

(12)

Hanger bracket (MT model)

(26)

Front exhaust pipe side cover D

T7:

Front Oxygen (A/F) Sensor > INSTALLATION

(13)

Front oxygen (A/F) sensor

(27)

Front exhaust pipe side cover E

T8:

Rear Oxygen Sensor > INSTALLATION

(14)

Rear oxygen sensor

(28)

Front exhaust pipe side cover F

2. REAR EXHAUST PIPE AND MUFFLER

(1)

Gasket

(7)

Cushion rubber (without protrusion)

(12)

Muffler (OUTBACK model)

(2)

Spring

(8)

Self-locking nut

(3)

Bolt

(9)

Gasket

Tightening torque: N·m (kgf-m, ft-lb)

(4)

Chamber

(10)

Muffler (sedan model)

T1:

7.5 (0.8, 5.5)

(5)

Rear exhaust pipe

(11)

Muffler cutter (sedan model)

T2:

48 (4.9, 35.4)

(6)

Cushion rubber (with protrusion)

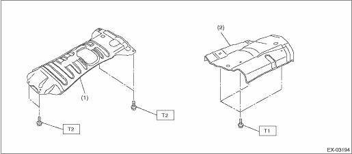
3. HEAT SHIELD COVER

(1)

Center exhaust cover

(2)

Rear exhaust cover

Tightening torque: N·m (kgf-m, ft-lb)

T1:

10 (1.0, 7.4)

T2:

18 (1.8, 13.3)

General description
...

Caution
• Prior to starting work, pay special attention to the following:1. Always wear work clothes, a work cap, and protective shoes. Additionally, wear a helmet, protective goggles, etc. if necessary ...

Other materials:

Dtc p0605 internal control module read only memory (rom) error
NOTE:For the diagnostic procedure, refer to DTC P0606. Diagnostic Procedure with Diagnostic Trouble Code (DTC) > DTC P0606 CONTROL MODULE PROCESSOR1. OUTLINE OF DIAGNOSISJudge as NG when SUM value of ROM is outside the standard value.2. EXECUTION CONDITIONSecondary ParametersExecution conditionNone ...

© 2017-2026 Copyright www.sulegacy.com