Honda Civic manuals

Subaru Legacy BN/BS (2015-2019) Service Manual: Disassembly

1. Remove the seal ring and O-ring.

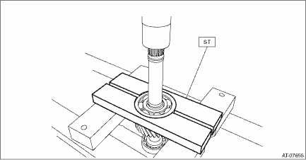
2. Using the ST, remove the ball bearing from front reduction drive gear.

ST 899864100REMOVER

3. Using the ST, remove the ball bearing from front reduction drive gear.

ST 498077000REMOVER

Inspection
• Replace if its tooth surfaces are broken, damaged or excessively worn.• Check the bearing for seizure or wear.• Apply CVTF to bearing and rotate the bearing to check for noise or d ...

Assembly
1. Using the ST, install the ball bearing to front reduction drive gear.NOTE:Use a new ball bearing.ST 18651AA000INSTALLER2. Using ST1 and ST2, install the ball bearing to front reduction drive gea ...

Other materials:

Dtc p0138 o2 sensor circuit high voltage bank 1 sensor 2
DTC DETECTING CONDITION:Detected when two consecutive driving cycles with fault occur.CAUTION:After servicing or replacing faulty parts, perform Clear Memory Mode Clear Memory Mode > OPERATION, and Inspection Mode Inspection Mode > PROCEDURE.WIRING DIAGRAM:• Engine Electrical System ENGINE T ...

© 2017-2025 Copyright www.sulegacy.com