Honda Civic manuals

Subaru Legacy BN/BS (2015-2019) Service Manual: Disassembly

1. VA1-TYPE

To detect the real cause of trouble, inspect the following items before disassembling.

Tooth contact and backlash between hypoid driven gear and drive pinion

1. Set the ST on vise and install the differential assembly to ST.

ST 398217700ATTACHMENT SET

2. Remove the drain plug and filler plug.

3. Remove the rear cover by removing retaining bolts.

NOTE:

Remove it by tapping with a plastic hammer.

4. Remove the stud bolts from rear cover if necessary.

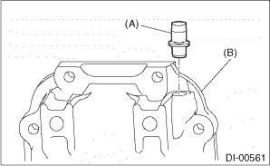
5. Remove the air breather cap.

NOTE:

Do not attempt to remove the air breather cap unless necessary.

Whenever the air breather cap is removed, replace it with a new part.

(A)

Air breather cap

(B)

Rear cover

6. Remove the lock plate RH and LH.

7. Remove the side retainer RH and LH with ST.

NOTE:

When keeping the retainers aside, use labels etc. to avoid confusing the left and right.

ST 18630AA010WRENCH COMPL RETAINER

8. Pull out the differential case assembly from differential carrier.

NOTE:

Be careful not to hit the teeth of hypoid driven gear against the differential carrier.

9. Remove the bearing race from side retainer RH and LH with ST1 and ST2.

ST1 499705401PULLER ASSY
ST2 499705404SEAT

(A)

Bearing race

(B)

Side retainer

10. Remove the oil seal from RH and LH side retainers.

NOTE:

Perform this operation only when changing oil seal.

11. Remove the O-rings.

12. Extract the bearing cone with ST1 and ST2.

NOTE:

Do not attempt to disassemble the parts unless necessary.

Set the puller so that its claws catch the edge of the bearing cone.

Store so that the right and left side bearing races and cones are not mixed together.

ST1 899524100PULLER SET
ST2 399520105SEAT

13. Using the ST, loosen the hypoid driven gear bolt and remove the hypoid driven gear.

ST 18270KA020SOCKET (E20)

14. Remove the spring pin from hypoid driven gear side using ST.

ST 899904100STRAIGHT PIN REMOVER

15. Draw out the pinion mate shaft and remove pinion mate gears, side gears and side gear thrust washers.

NOTE:

The gears and washers should be marked with RH or LH, front or rear, or kept separately.

(A)

Side gear

(B)

Pinion mate gear

(C)

Side gear thrust washer

(D)

Differential case

(E)

Pinion mate shaft

16. Remove the self-locking nut while securing the companion flange with ST.

ST 498427200FLANGE WRENCH

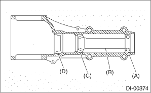
17. Extract the companion flange with a puller.

(A)

Companion flange

(B)

Puller

18. Press the end of drive pinion shaft using ST and remove the rear bearing cone, pinion height adjusting washer, preload adjusting spacer and washer.

NOTE:

Hold the drive pinion so as not to drop it.

ST 398467700DRIFT

19. Remove the rear bearing cone from drive pinion by supporting the cone with ST.

NOTE:

Place the replacer so that its center-recessed side faces the bearing cone.

ST 498515500REPLACER

20. Remove the front oil seal from differential carrier using ST.

ST 398527700PULLER ASSY

(A)

Differential carrier

(B)

Front oil seal

21. Remove the pilot bearing together with the front bearing cone and spacer using the ST.

ST 398467700DRIFT

(A)

Pilot bearing

(B)

Spacer

(C)

Front bearing

(D)

Rear bearing race

22. When replacing the bearings, tap out the front bearing race and rear bearing race in this order using a brass bar to remove them.

(A)

2 cutout portions along diagonal lines

(B)

Tap alternately with brass bar.

2. VA2-TYPE

To detect the real cause of trouble, inspect the following items before disassembling.

Tooth contact and backlash between hypoid driven gear and drive pinion

1. Set the ST on vise and install the differential assembly to ST.

ST 398217700ATTACHMENT SET

2. Remove the drain plug and filler plug.

3. Remove the rear cover by removing retaining bolts.

NOTE:

Remove it by tapping with a plastic hammer.

4. Remove the stud bolts from rear cover if necessary.

5. Remove the air breather cap.

NOTE:

Do not attempt to remove the air breather cap unless necessary.

Whenever the air breather cap is removed, replace it with a new part.

(A)

Air breather cap

(B)

Rear cover

6. Remove the lock plate RH and LH.

7. Remove the side retainer RH and LH with ST.

NOTE:

When keeping the retainers aside, use labels etc. to avoid confusing the left and right.

ST 18630AA010WRENCH COMPL RETAINER

8. Pull out the differential case assembly from differential carrier.

NOTE:

Be careful not to hit the teeth of hypoid driven gear against the differential carrier.

9. Remove the bearing race from side retainer RH and LH with ST and the press.

NOTE:

Be sure to turn the bolt of the ST by hand.

Set the puller so that its claws catch the groove of side retainer.

ST 18758AA000PULLER

(A)

Groove

(B)

Claw

(A)

Side retainer

10. Remove the oil seal from RH and LH side retainers.

NOTE:

Perform this operation only when changing oil seal.

11. Remove the O-rings.

12. Extract the bearing cone with ST1, ST2 and ST3.

NOTE:

Do not attempt to disassemble the parts unless necessary.

Never mix up the RH and LH bearing races and cones.

ST1 498077000REMOVER
ST2 399520105SEAT
ST3 899864100REMOVER

13. Using the ST, loosen the hypoid driven gear bolt and remove the hypoid driven gear.

ST 18270KA020SOCKET (E20)

14. Remove the spring pin from hypoid driven gear side using ST.

ST 899904100STRAIGHT PIN REMOVER

15. Draw out the pinion mate shaft and remove pinion mate gears, side gears and side gear thrust washers.

NOTE:

The gears and washers should be marked with RH or LH, front or rear, or kept separately.

(A)

Side gear

(B)

Pinion mate gear

(C)

Side gear thrust washer

(D)

Differential case

(E)

Pinion mate shaft

16. Remove the circlip from the side gear.

17. Remove the self-locking nut while securing the companion flange with ST.

ST 498427200FLANGE WRENCH

18. Extract the companion flange using a puller.

(A)

Companion flange

(B)

Puller

19. Remove the drive pinion shaft.

20. Remove the rear bearing cone from drive pinion by supporting the cone with ST.

NOTE:

Place the replacer so that its center-recessed side faces the bearing cone.

ST 398517700REPLACER

21. Remove the front oil seal from differential carrier using screwdriver.

22. Remove the pilot bearing, front bearing cone and spacer.

(A)

Pilot bearing

(B)

Spacer

(C)

Front bearing

(D)

Rear bearing race

23. When replacing the bearings, tap out the front bearing race and rear bearing race in this order using a brass bar to remove them.

(A)

2 cutout portions along diagonal lines

(B)

Tap alternately with brass bar.

Inspection
Wash all the disassembled parts clean, and examine them for wear, damage or other defects. Repair or replace the defective parts as necessary.1. Hypoid driven gear and drive pinion• If there is ...

Rear differential front member
...

Other materials:

Low tire pressure warning light (U.S. spec. models)
When the ignition switch is turned to the "ON" position, the low tire pressure warning light will illuminate for approximately 2 seconds to check that the tire pressure monitoring system (TPMS) is functioning properly. If there is no problem and all tires are properly inflated, the light will ...

© 2017-2025 Copyright www.sulegacy.com