Honda Civic manuals

Subaru Legacy BN/BS (2015-2019) Service Manual: Disassembly

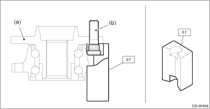
Using the ST or a hydraulic press, push out the bolt - hub (b) from the hub unit COMPL - front axle (a).

CAUTION:

Be careful not to hammer the bolts - hub. This may deform the hub unit COMPL.

Do not reuse the bolt - hub.

NOTE:

Since the hub unit COMPL can not be disassembled, only bolts - hub can be removed.

Preparation tool:

ST: HUB STAND (28399AG000)

Inspection
1. Moving the front tire up and down by hand, check there is no play in bearing, and check the wheel rotates smoothly.CAUTION:If there is any fault in the bearing, replace the hub unit COMPL.2. Inspec ...

General description
...

Other materials:

Dtc b2900 ahl control
DTC DETECTING CONDITION:Detected when internal malfunction occurs in the auto headlight beam leveler CM.TROUBLE SYMPTOM:The auto headlight beam leveler does not operate.CAUTION:Initialization is required after replacing the auto headlight beam leveler CM.STEPCHECKYESNO1.CHECK DTC.1) Turn the ignitio ...

© 2017-2025 Copyright www.sulegacy.com