Honda Civic manuals

Subaru Legacy BN/BS (2015-2019) Service Manual: Disassembly

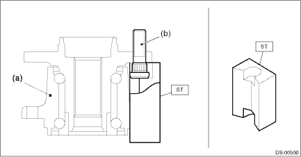
Using the ST or a hydraulic press, push out the bolt - hub (b) from the hub unit COMPL - rear axle (a).

CAUTION:

Be careful not to hammer the bolts - hub. This may deform the hub unit COMPL.

Do not reuse the bolt - hub.

NOTE:

Since the hub unit COMPL - rear axle cannot be disassembled, only bolts - hub can be removed.

Preparation tool:

ST: HUB STAND (28399AG000)

Inspection
1. Moving the rear tire up and down by hand, check there is no backlash in bearing, and check the wheel rotates smoothly.CAUTION:If there is any fault in the bearing, replace the hub unit COMPL - rear ...

Engine (diagnostics)(h4do)
...

Other materials:

Steering system (power steering) inspection
1. STEERING WHEEL1. Set the steering wheel in a straight-ahead position, and check the wheel spokes to make sure they are correctly set in their specified positions.2. Lightly turn the steering wheel to the left and right to determine the point where front wheels start to move.Measure the distance o ...

© 2017-2025 Copyright www.sulegacy.com