Honda Civic manuals

Subaru Legacy BN/BS (2015-2019) Service Manual: Disassembly

1. Disconnect the terminal M from the magnet switch assembly.

2. Remove the magnet switch assembly from the starter housing assembly.

3. Remove screws (A) and bolts (B) of the brush holder assembly, and remove the starter cover assembly.

4. Remove the brush holder assembly from the armature assembly.

NOTE:

Hold the brush with your fingers so that the brush spring does not come flying out.

5. Remove the armature assembly and yoke assembly from the starter housing assembly together as a single unit.

6. Separate the armature assembly and yoke assembly.

7. Remove the pinion gear from the internal gear assembly.

8. Remove seal rubber (A), plate (B), and seal rubber (C).

9. Lightly tap the starter housing assembly with a plastic hammer as shown in the figure, and remove the overrunning clutch, internal gear assembly, shaft and shift lever together as one unit.

10. Use the following procedures to remove the overrunning clutch from the shaft.

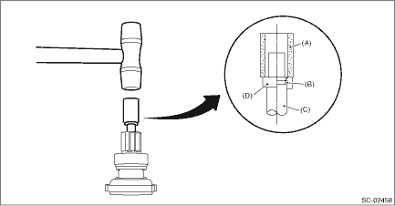
(1) Use an appropriate tool (such as a fit socket wrench), and remove the stopper from snap ring by lightly tapping the stopper with a plastic hammer.

(A)

Appropriate tool

(B)

Snap ring

(C)

Shaft

(D)

Stopper

(2) Remove snap ring (A) from the shaft, and remove stopper (B).

(3) Remove the overrunning clutch from the shaft.

11. Separate the internal gear assembly and shaft.

Inspection
1. ARMATURE1. Check the commutator for signs of seizure or stepped wear caused by roughness of the surface. If there is light wear, use sandpaper to repair.2. Check for runout on the commutator. If ex ...

Starter relay
...

Other materials:

Dtc p015a a/f / o2 sensor delayed response - rich to lean bank 1 sensor 1
NOTE:For the diagnostic procedure, refer to DTC P014C. Diagnostic Procedure with Diagnostic Trouble Code (DTC) > DTC P014C A/F / O2 SENSOR SLOW RESPONSE - RICH TO LEAN BANK 1 SENSOR 11. OUTLINE OF DIAGNOSISDetect the slow response of front oxygen (A/F) sensor.For diagnosis, detect the trouble by pr ...

© 2017-2026 Copyright www.sulegacy.com