Honda Civic manuals

Subaru Legacy BN/BS (2015-2019) Service Manual: Inspection

1. ARMATURE

1. Check the commutator for signs of seizure or stepped wear caused by roughness of the surface. If there is light wear, use sandpaper to repair.

2. Check for runout on the commutator. If excessive, replace the armature.

Commutator runout:

Standard

0.05 mm (0.0020 in)

Limit

0.10 mm (0.0039 in)

(A)

Dial gauge

(B)

V-block

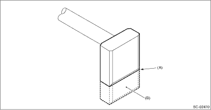
3. Check the depth of the segment mold. If it is not within the standard, replace the armature.

Depth of segment mold:

Standard

0.50 mm (0.020 in)

(A)

Depth of mold

(B)

Segment

(C)

Mold

4. Place the armature on the growler tester to check for short circuits. While slowly turning the armature, support the steel sheet for the armature core. If the circuit of the armature is shorted, the steel sheet will vibrate, causing it to move towards the core. When the steel sheet has moved or vibrated, replace the armature.

(A)

Steel sheet

(B)

Growler tester

5. Use a circuit tester to touch the probe of one side to the commutator segment, and the other probe to the shaft. If there is continuity, replace the armature.

2. YOKE

Make sure that the pole is set at the predetermined position.

3. OVERRUNNING CLUTCH

Inspect the pinion, and if there is any wear or damage, replace the overrunning clutch. Also, check that the pinion rotates counterclockwise smoothly and does not rotate clockwise. If there is any fault, replace the overrunning clutch.

CAUTION:

To prevent spilling of grease, do not clean the overrunning clutch with oil.

4. BRUSH AND BRUSH HOLDER

1. Visually check the brush. If there is any abnormal wear or cracks, replace the brush.

2. Measure the length of the brush. If it exceeds service limits, replace the brush.

Brush length:

Standard

12.3 mm (0.484 in)

Limit

7.0 mm (0.276 in)

(A)

Service limit line

(B)

Brush

3. Check that the brush moves smoothly in the brush holder.

4. Measure the brush spring force with a spring scale. Replace the brush holder if below the service limit.

Brush spring force:

Standard

15.9 — 19.5 N (1.62 — 1.99 kgf, 3.57 — 4.38 lbf) (when new)

Limit

2.5 N (0.25 kgf, 0.56 lbf)

5. SWITCH ASSEMBLY

Model without Auto Start Stop

Using a circuit tester, check there is continuity between S terminal and M terminal, and between S terminal and ground. Also, check that there is no continuity between M terminal and B terminal.

(A)

Terminal S

(B)

Terminal M

(C)

Terminal B

Terminals

Standard

Terminal S — terminal M

1 - or less

Terminal S — Ground

1 - or less

Terminal M — terminal B

1 M- or more

Model with Auto Start Stop

1. Disconnect the harness from the M terminal.

CAUTION:

Hold the disconnected harness so that it does not contact the terminal or wiring.

2. Using a circuit tester, check there is continuity between SL1 (pinion terminal) and ground, and between SL2 (contact terminal) and ground.

(A)

SL1 (pinion terminal)

(B)

SL2 (contact terminal)

Terminals

Standard

SL1 (pinion terminal) — Ground

1 - or less

SL2 (contact terminal) — Ground

1 - or less

3. Using a circuit tester, check there is no continuity between SL1 (pinion terminal) and M terminal, between SL2 (contact terminal) and M terminal, and between M terminal and B terminal.

(A)

SL1 (pinion terminal)

(B)

SL2 (contact terminal)

(C)

Terminal M

(D)

Terminal B

Terminals

Standard

SL1 (pinion terminal) — M terminal

1 M- or more

SL2 (contact terminal) — M terminal

1 M- or more

Terminal M — terminal B

1 M- or more

6. SWITCH ASSEMBLY OPERATION

CAUTION:

Perform the inspection in a short period of time. (Within 3 to 5 seconds)

Model without Auto Start Stop

1. Loosen the nut which holds the M terminal to the starter body.

NOTE:

This procedure is required to facilitate the harness removal from the M terminal.

2. Connect the battery positive terminal to the switch assembly S terminal, and connect the battery negative terminal to the starter body. Then, if the pinion protrudes, it is normal.

NOTE:

The starter motor may rotate while the pinion protrudes. This occurs due to current that flows to the motor via pull-in coil. This is not a problem.

(A)

Terminal S

3. Disconnect the harness from the M terminal. Check that the pinion is being protruded at this time.

CAUTION:

Hold the disconnected harness so that it does not contact the terminal or wiring.

4. Disconnect the battery negative terminal from the starter body. Then, if the pinion returns to its original position, it is normal.

(A)

Terminal S

Model with Auto Start Stop

1. Connect the battery positive terminal to the switch assembly SL1 (pinion terminal), and connect the battery negative terminal to the starter body. Then, if the pinion protrudes, it is normal.

2. Connect the battery positive terminal to the switch assembly SL2 (contact terminal) and connect the battery negative terminal to the starter body. Then, if a click sound is heard inside the magnet switch and there is continuity between B terminal and M terminal, it is normal.

(A)

SL1 (pinion terminal)

(B)

SL2 (contact terminal)

(C)

Terminal M

(D)

Terminal B

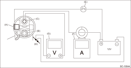
7. NO-LOAD TEST

The starter should be placed through a no-load test whenever it has been overhauled.

For no-load test, use the circuit shown in figure.

CAUTION:

Use a thick cable due to large current flowing through the cable.

For B terminal and ground, it is recommended that the cross-section area of continuity part (shaded part) should be 20 mm2 (0.00310 sq in) or more. For S terminal, 1.25 mm2 (0.00194 sq in) or more.

(a)

Cable cross-section

(b)

Cable shield part

(c)

Cable continuity part

It is possible to use a booster cable instead of wiring.

Be careful not to burn yourself and cause a fire due to heat.

Perform the no-load test in a short period of time. (Within 3 to 5 seconds)

Model without Auto Start Stop

(A)

Terminal S

(B)

Terminal M

(C)

Terminal B

(D)

Magnet switch

(E)

Switch

(F)

Circuit tester with clamp-type ammeter

(G)

Circuit tester

1. Using a vise, secure the starter.

CAUTION:

Be careful not to deform or damage the starter.

2. Turn the switch ON, and check that the pinion protrudes rapidly into the specified position and rotates powerfully without noise.

3. Check the current and voltage after its rotation speed stabilizes.

Current/Voltage

CVT model

90 A or less (approx. 11 V)

MT model

95 A or less (approx. 11 V)

Model with Auto Start Stop

(A)

SL1 (pinion terminal)

(B)

SL2 (contact terminal)

(C)

Terminal M

(D)

Terminal B

(E)

Switch

(F)

Circuit tester with clamp-type ammeter

(G)

Circuit tester

1. Using a vise, secure the starter.

CAUTION:

Be careful not to deform or damage the starter.

2. Turn the switch ON, and check that the pinion protrudes rapidly into the specified position and rotates powerfully without noise.

3. Check the current and voltage after its rotation speed stabilizes.

Current/Voltage

130 A or less (approx. 11.5 V)

8. OTHER INSPECTIONS

Check that the starter does not have deformation, cracks and any other damage.

Installation
1. Install the starter to the transmission, and install the bolts or nuts securing the starter.NOTE:• For the MT model, a bolt is used at (a).• Tighten the starter and bracket (b) together ...

Disassembly
1. Disconnect the terminal M from the magnet switch assembly.2. Remove the magnet switch assembly from the starter housing assembly.3. Remove screws (A) and bolts (B) of the brush holder assembly, and ...

Other materials:

Tire pressure monitoring system (TPMS) (if equipped)
The tire pressure monitoring system provides the driver with a warning message by sending a signal from a sensor that is installed in each wheel when tire pressure is severely low. The tire pressure monitoring system will activate only when the vehicle is driven. Also, this system may not rea ...

© 2017-2025 Copyright www.sulegacy.com