Honda Civic manuals

Subaru Legacy BN/BS (2015-2019) Service Manual: Disposal

CAUTION:

Before handling the strut damper and shock absorber, be sure to wear goggles to protect eyes from gas, oil and cutting powder.

Do not disassemble the strut damper and shock absorber or place them into a fire.

When discarding gas filled strut dampers and shock absorbers, drill holes in them to purge the gas.

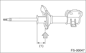
1. Place the strut damper and shock absorber on a level surface with the piston rod fully expanded.

2. Make a hole into the specified position 30 mm (1.18 in) deep using a drill with 2 — 3 mm (0.08 — 0.12 in) diameter.

(1)

40 mm (1.57 in)

Inspection
Check the removed part for wear, damage and cracks, and then repair or replace it if defective.1. STRUT COMPL - FRONT1. Check for oil leaks.2. Move the piston rod up and down to check that it operates ...

Disassembly
1. Using a coil spring compressor, compress the coil spring.2. Using a hexagon wrench to prevent strut rod from turning, remove the self-locking nut with ST.CAUTION:When installing the coil spring com ...

Other materials:

Diagnostic procedure with cancel code dtc b2328 rear radar internal failure (radar misalignment)
DETECTING CONDITION:• Excessive impact was given to the installation area of the radar sensor, which resulted in deviation of the radar sensor axis.• Mounting bracket for the radar sensor is deformed.• Defective radar sensorTROUBLE SYMPTOMS:• All functions of BSD/RCTA are tem ...

© 2017-2025 Copyright www.sulegacy.com