Honda Civic manuals

Subaru Legacy BN/BS (2015-2019) Service Manual: Dtc b2605 battery control low

DTC DETECTING CONDITION:

During the motor operation, voltage for power seat control module drops for a moment. (7.5 V or less)

TROUBLE SYMPTOM:

Seat positions cannot be memorized.

Seat operation is possible with manual operation, but not with memory function.

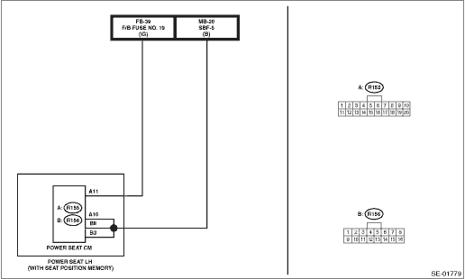
WIRING DIAGRAM:

NOTE:

For the coupling connector, refer to “WIRING SYSTEM”.

Power seat system Power Seat System > WIRING DIAGRAM

STEPCHECKYESNO

1.CHECK DTC.

1) Turn the ignition switch to ON.

2) Read the DTC of the power seat control module using the Subaru Select Monitor. Read Diagnostic Trouble Code (DTC)

Is DTC B2605 displayed- (Current malfunction)

Diagnostic Procedure with Diagnostic Trouble Code (DTC) > DTC B2605 BATTERY CONTROL LOW

Even if DTC is displayed, the circuit has returned to a normal condition at this time. Reproduce the failure, and perform the diagnosis again.

NOTE:

In this case, temporary poor contact of connector, temporary open or short circuit of harness may be the cause.

2.CHECK DTC.

1) Perform the clear memory operation. Clear Memory Mode > OPERATION

2) Turn the ignition switch to OFF.

3) Disconnect, and then connect the power seat control module connector.

4) Turn the ignition switch to ON.

5) Move the power seat.

6) Read the DTC of the power seat control module using the Subaru Select Monitor. Read Diagnostic Trouble Code (DTC)

Is DTC B2605 displayed- (Current malfunction)

Diagnostic Procedure with Diagnostic Trouble Code (DTC) > DTC B2605 BATTERY CONTROL LOW

Repair or replace the poor contact of connector.

3.CHECK POWER SEAT CONTROL MODULE.

Using Subaru Select Monitor, check the display of power seat control module current data «Battery Terminal Voltage». Read Current Data > OPERATION

Is the voltage 8.5 — 16.5 V-

Diagnostic Procedure with Diagnostic Trouble Code (DTC) > DTC B2605 BATTERY CONTROL LOW

Diagnostic Procedure with Diagnostic Trouble Code (DTC) > DTC B2605 BATTERY CONTROL LOW

4.CHECK HARNESS.

1) Turn the ignition switch to OFF.

2) Disconnect the power seat control module connector.

3) Turn the ignition switch to ON.

4) Using the tester, measure the voltage between power seat control module connector and chassis ground.

Connector & terminal

(R155) No. 10 (+) — Chassis ground (−):

(R155) No. 11 (+) — Chassis ground (−):

(R156) No. 3 (+) — Chassis ground (−):

(R156) No. 8 (+) — Chassis ground (−):

Is the voltage 8.5 — 16.5 V-

Replace the power seat control module. Power Seat System > REMOVAL

Repair the open circuit in harness between power seat control module connector and fuse.

5.CHECK BATTERY VOLTAGE.

Measure the battery voltage while the power seat is in operation.

Is the voltage 8.5 — 16.5 V-

Ask the user if the power window or passenger’s power seat was operated or cranking was performed while the driver’s power seat is in operation.

NOTE:

Even when the battery voltage is normal under ordinary circumstance, the voltage may drop to 7.5 V or less in some cases, for example at cranking.

Check the battery. Battery Battery

Dtc b2600 lin communication
DTC DETECTING CONDITION:No signal is received from body integrated unit for a certain period of time (2100 ms) or more. Or, transmission from the power seat control module is not possible for a certai ...

Dtc b2604 power seat memory eeprom
DTC DETECTING CONDITION:There is a difference between writing value and reading value of power seat control module EEPROM.TROUBLE SYMPTOM:Seat operation is possible with manual operation, but not with ...

Other materials:

Dtc p0051 a/f / o2 heater control circuit low bank 2 sensor 1
DTC DETECTING CONDITION:Immediately at fault recognitionCAUTION:After servicing or replacing faulty parts, perform Clear Memory Mode Clear Memory Mode > OPERATION, and Inspection Mode Inspection Mode > PROCEDURE.WIRING DIAGRAM:• Engine Electrical System ENGINE TYPE EZ (WITHOUT PUSH BUTTON ST ...

© 2017-2025 Copyright www.sulegacy.com