Honda Civic manuals

Subaru Legacy BN/BS (2015-2019) Service Manual: Dtc p0102 mass or volume air flow sensor "a" circuit low

DTC DETECTING CONDITION:

Immediately at fault recognition

TROUBLE SYMPTOM:

Improper idling

Engine stalls.

Poor driving performance

CAUTION:

After servicing or replacing faulty parts, perform Clear Memory Mode Clear Memory Mode > OPERATION, and Inspection Mode Inspection Mode > PROCEDURE.

WIRING DIAGRAM:

Engine Electrical System ENGINE TYPE EZ (WITHOUT PUSH BUTTON START) Engine Electrical System > WIRING DIAGRAM

Engine Electrical System ENGINE TYPE EZ (WITH PUSH BUTTON START) Engine Electrical System > WIRING DIAGRAM

STEPCHECKYESNO

1.CHECK CURRENT DATA.

1) Start the engine.

2) Read the value of «Air Flow Sensor Voltage» using Subaru Select Monitor.

NOTE:

For detailed operation procedures, refer to “Read Current Data For Engine”. Subaru Select Monitor

Is the value of «Air Flow Sensor Voltage» less than 0.2 V-

Diagnostic Procedure with Diagnostic Trouble Code (DTC) > DTC P0102 MASS OR VOLUME AIR FLOW SENSOR "A" CIRCUIT LOW

Even if DTC is detected, the circuit has returned to a normal condition at this time. Reproduce the failure, and then perform the diagnosis again.

NOTE:

In this case, temporary poor contact of connector, temporary open or short circuit of harness may be the cause.

2.CHECK POWER SUPPLY OF MASS AIR FLOW AND INTAKE AIR TEMPERATURE SENSOR.

1) Turn the ignition switch to OFF.

2) Disconnect the connectors from the mass air flow and intake air temperature sensor.

3) Turn the ignition switch to ON.

4) Measure the voltage between mass air flow and intake air temperature sensor connector and engine ground.

Connector & terminal

(B3) No. 3 (+) — Engine ground (−):

Is the voltage 10 V or more-

Diagnostic Procedure with Diagnostic Trouble Code (DTC) > DTC P0102 MASS OR VOLUME AIR FLOW SENSOR "A" CIRCUIT LOW

Repair the harness and connector.

NOTE:

In this case, repair the following item:

Open circuit in harness between main relay and mass air flow and intake air temperature sensor connector

Poor contact of main relay connector

Blown out of fuse (M/B No. 25)

3.CHECK HARNESS BETWEEN ECM AND MASS AIR FLOW AND INTAKE AIR TEMPERATURE SENSOR CONNECTOR.

1) Turn the ignition switch to OFF.

2) Disconnect the connector from ECM.

3) Measure the resistance of harness between ECM connector and the mass air flow and intake air temperature sensor connector.

Connector & terminal

(B134) No. 16 — (B3) No. 5:

Is the resistance less than 1 --

Diagnostic Procedure with Diagnostic Trouble Code (DTC) > DTC P0102 MASS OR VOLUME AIR FLOW SENSOR "A" CIRCUIT LOW

Repair the open circuit of harness between ECM connector and the mass air flow and intake air temperature sensor connector.

4.CHECK HARNESS BETWEEN ECM AND MASS AIR FLOW AND INTAKE AIR TEMPERATURE SENSOR CONNECTOR.

Measure the resistance between ECM connector and chassis ground.

Connector & terminal

(B134) No. 16 — Chassis ground:

Is the resistance 1 M- or more-

Diagnostic Procedure with Diagnostic Trouble Code (DTC) > DTC P0102 MASS OR VOLUME AIR FLOW SENSOR "A" CIRCUIT LOW

Repair the ground short circuit of harness between ECM connector and the mass air flow and intake air temperature sensor connector.

5.CHECK FOR POOR CONTACT.

Check for poor contact of ECM and mass air flow and intake air temperature sensor connector.

Is there poor contact of ECM or mass air flow and intake air temperature sensor connector-

Repair the poor contact of ECM or mass air flow and intake air temperature sensor connector.

Replace the mass air flow and intake air temperature sensor. Mass Air Flow and Intake Air Temperature Sensor

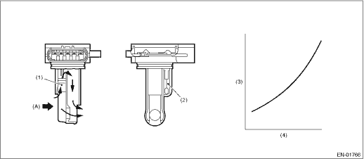
1. OUTLINE OF DIAGNOSIS

Detect open or short circuits of the air flow sensor.

Judge as NG if out of specification.

2. COMPONENT DESCRIPTION

(A)

Air

(1)

Air flow sensor

(3)

Voltage (V)

(4)

Amount of intake air (kg (lb)/s)

(2)

Intake air temperature sensor

3. EXECUTION CONDITION

Secondary Parameters

Execution condition

None

4. GENERAL DRIVING CYCLE

Always perform the diagnosis continuously.

5. DIAGNOSTIC METHOD

If the duration of time while the following conditions are met is longer than the time indicated, judge as NG.

Judgment Value

Malfunction Criteria

Threshold Value

Output voltage

< 0.22 V

Time Needed for Diagnosis: 500 ms

Malfunction Indicator Light Illumination: Illuminates as soon as a malfunction occurs.

Dtc p0103 mass or volume air flow sensor "a" circuit high
DTC DETECTING CONDITION:Immediately at fault recognitionTROUBLE SYMPTOM:• Improper idling• Engine stalls.• Poor driving performanceCAUTION:After servicing or replacing faulty parts, ...

Dtc p0101 mass or volume air flow sensor "a" circuit range/performance
DTC DETECTING CONDITION:Detected when two consecutive driving cycles with fault occur.TROUBLE SYMPTOM:• Improper idling• Engine stalls.• Poor driving performanceCAUTION:After servici ...

Other materials:

Dtc p0068 map/maf - throttle position correlation
DTC DETECTING CONDITION:Detected when two consecutive driving cycles with fault occur.CAUTION:After servicing or replacing faulty parts, perform Clear Memory Mode Clear Memory Mode > OPERATION, and Inspection Mode Inspection Mode > PROCEDURE.STEPCHECKYESNO1.CHECK AIR INTAKE SYSTEM.Are there holes, ...

© 2017-2026 Copyright www.sulegacy.com