Honda Civic manuals

Subaru Legacy BN/BS (2015-2019) Service Manual: Dtc p0103 mass or volume air flow sensor "a" circuit high

DTC DETECTING CONDITION:

Immediately at fault recognition

TROUBLE SYMPTOM:

Improper idling

Engine stalls.

Poor driving performance

CAUTION:

After servicing or replacing faulty parts, perform Clear Memory Mode Clear Memory Mode > OPERATION, and Inspection Mode Inspection Mode > PROCEDURE.

WIRING DIAGRAM:

Engine Electrical System ENGINE TYPE EZ (WITHOUT PUSH BUTTON START) Engine Electrical System > WIRING DIAGRAM

Engine Electrical System ENGINE TYPE EZ (WITH PUSH BUTTON START) Engine Electrical System > WIRING DIAGRAM

STEPCHECKYESNO

1.CHECK CURRENT DATA.

1) Start the engine.

2) Read the value of «Air Flow Sensor Voltage» using Subaru Select Monitor.

NOTE:

For detailed operation procedures, refer to “Read Current Data For Engine”. Subaru Select Monitor

Is the value of «Air Flow Sensor Voltage» 5 V or more-

Diagnostic Procedure with Diagnostic Trouble Code (DTC) > DTC P0103 MASS OR VOLUME AIR FLOW SENSOR "A" CIRCUIT HIGH

Even if DTC is detected, the circuit has returned to a normal condition at this time. Reproduce the failure, and then perform the diagnosis again.

NOTE:

In this case, temporary poor contact of connector, temporary open or short circuit of harness may be the cause.

2.CHECK HARNESS BETWEEN ECM AND MASS AIR FLOW AND INTAKE AIR TEMPERATURE SENSOR CONNECTOR.

1) Turn the ignition switch to OFF.

2) Disconnect the connectors from the mass air flow and intake air temperature sensor.

3) Start the engine.

4) Read the value of «Air Flow Sensor Voltage» using Subaru Select Monitor.

NOTE:

For detailed operation procedures, refer to “Read Current Data For Engine”. Subaru Select Monitor

Is the value of «Air Flow Sensor Voltage» 5 V or more-

Repair the short circuit of harness to power supply between ECM connector and the mass air flow and intake air temperature sensor connector.

Diagnostic Procedure with Diagnostic Trouble Code (DTC) > DTC P0103 MASS OR VOLUME AIR FLOW SENSOR "A" CIRCUIT HIGH

3.CHECK HARNESS BETWEEN ECM AND MASS AIR FLOW AND INTAKE AIR TEMPERATURE SENSOR CONNECTOR.

1) Turn the ignition switch to OFF.

2) Measure the resistance of harness between mass air flow and intake air temperature sensor connector and engine ground.

Connector & terminal

(B3) No. 4 — Engine ground:

Is the resistance less than 5 --

Diagnostic Procedure with Diagnostic Trouble Code (DTC) > DTC P0103 MASS OR VOLUME AIR FLOW SENSOR "A" CIRCUIT HIGH

Repair the harness and connector.

NOTE:

In this case, repair the following item:

Open circuit in harness between ECM connector and the mass air flow and intake air temperature sensor connector

Poor contact of ECM connector

4.CHECK FOR POOR CONTACT.

Check for poor contact of mass air flow and intake air temperature sensor connector.

Is there poor contact of mass air flow and intake air temperature sensor connector-

Repair the poor contact of mass air flow and intake air temperature sensor connector.

Replace the mass air flow and intake air temperature sensor. Mass Air Flow and Intake Air Temperature Sensor

1. OUTLINE OF DIAGNOSIS

Detect open or short circuits of the air flow sensor.

Judge as NG if out of specification.

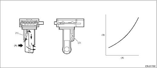
2. COMPONENT DESCRIPTION

(A)

Air

(1)

Air flow sensor

(3)

Voltage (V)

(4)

Amount of intake air (kg (lb)/s)

(2)

Intake air temperature sensor

3. EXECUTION CONDITION

Secondary Parameters

Execution condition

None

4. GENERAL DRIVING CYCLE

Always perform the diagnosis continuously.

5. DIAGNOSTIC METHOD

If the duration of time while the following conditions are met is longer than the time indicated, judge as NG.

Judgment Value

Malfunction Criteria

Threshold Value

Output voltage

≥ 4.832 V

Time Needed for Diagnosis: 500 ms

Malfunction Indicator Light Illumination: Illuminates as soon as a malfunction occurs.

Dtc p0107 manifold absolute pressure/barometric pressure sensor circuit low
DTC DETECTING CONDITION:Immediately at fault recognitionCAUTION:After servicing or replacing faulty parts, perform Clear Memory Mode Clear Memory Mode > OPERATION, and Inspection Mode Inspection Mod ...

Dtc p0102 mass or volume air flow sensor "a" circuit low
DTC DETECTING CONDITION:Immediately at fault recognitionTROUBLE SYMPTOM:• Improper idling• Engine stalls.• Poor driving performanceCAUTION:After servicing or replacing faulty parts, ...

Other materials:

Disassembly
1. DIFFERENTIAL CASE ASSEMBLY1. Loosen the twelve bolts and remove hypoid driven gear.(A)Hypoid driven gear2. Drive out the straight pin from differential assembly toward hypoid driven gear side.ST 899904100STRAIGHT PIN REMOVER3. Pull out the pinion shaft, and remove the differential bevel pinion ...

© 2017-2026 Copyright www.sulegacy.com