Honda Civic manuals

Subaru Legacy BN/BS (2015-2019) Service Manual: Dtc p0111 intake air temperature sensor 1 circuit range/performance bank 1

DTC DETECTING CONDITION:

Detected when two consecutive driving cycles with fault occur.

TROUBLE SYMPTOM:

Improper idling

Poor driving performance

CAUTION:

After servicing or replacing faulty parts, perform Clear Memory Mode Clear Memory Mode > OPERATION, and Inspection Mode Inspection Mode > PROCEDURE.

STEPCHECKYESNO

1.CHECK ENGINE COOLANT TEMPERATURE.

1) Start the engine and warm up completely.

2) Read the value of «Coolant Temp.» using the Subaru Select Monitor or a general scan tool.

NOTE:

Subaru Select Monitor

For detailed operation procedures, refer to “Read Current Data For Engine”. Subaru Select Monitor

General scan tool

For detailed operation procedures, refer to the general scan tool operation manual.

Is the value of «Coolant Temp.» 75°C (167°F) or more-

Replace the mass air flow and intake air temperature sensor. Mass Air Flow and Intake Air Temperature Sensor

Check for DTC P0125. Diagnostic Procedure with Diagnostic Trouble Code (DTC) > DTC P0125 INSUFFICIENT COOLANT TEMPERATURE FOR CLOSED LOOP FUEL CONTROL

1. OUTLINE OF DIAGNOSIS

Detect the malfunction of the intake air temperature sensor output properties. Using the following two diagnoses, judge as NG when either is NG.

Diagnosis 1 (correlation diagnosis): After the engine starts after the specified period of soaking time has elapsed, diagnose by correlation between intake air temperature sensor value, engine coolant temperature sensor value and ambient temperature sensor value. Judge as NG when the differences are both above the specified value by comparing between intake air temperature and engine coolant temperature, intake air temperature and ambient air temperature.

Diagnosis 2 (stuck diagnosis): Judge as NG when intake air temperature does not change under the driving condition where it should change, considering engine condition.

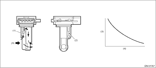
2. COMPONENT DESCRIPTION

(A)

Air

(1)

Air flow sensor

(3)

Resistance value (-)

(4)

Intake air temperature °C (°F)

(2)

Intake air temperature sensor

3. EXECUTION CONDITION

Diagnosis 1

Secondary Parameters

Execution condition

Soaking time

≥ 21600 s

Block heater judgment

Completed

Block heater operation

Not in operation

Diagnosis 2

Secondary Parameters

Execution condition

Battery voltage

≥ 10.9 V

Engine coolant temperature

≥ 60 °C (140 °F)

Intake air amount sum value

≥ Value of Map 1

Number of experiences under conditions below

≥ 3 time(s)

• Continuous time when vehicle speed is less than 4 km/h (2.5 MPH)

≥ Value from Map 2

• Continuous time when vehicle speed is 40 km/h (24.9 MPH) or more, and intake air amount is 10 g/s (0.35 oz/s) or more

≥ 15 s

Map 1

Engine coolant temperature

°C (°F)

−30

(−22)

−10

(14)

0

(32)

10

(50)

25

(77)

Intake air amount sum value (g (oz))

30500 (1075.74)

24000 (846.48)

20500 (723.04)

15000 (529.05)

6800 (239.84)

Map 2

Engine coolant temperature

°C (°F)

−30

(−22)

0

(32)

10

(50)

25

(77)

Continuous time (s) when vehicle speed is less than 4 km/h (2.5 MPH)

250

40

32

24

4. GENERAL DRIVING CYCLE

Diagnosis 1: Perform the diagnosis only once after the engine starts after a certain period of soaking time.

Diagnosis 2: Perform the diagnosis when the vehicle speed condition is met after warming up from a cold condition.

5. DIAGNOSTIC METHOD

Judge as NG when Diagnosis 1 or Diagnosis 2 becomes NG.

Diagnosis 1

If the duration of time while the following conditions are met is longer than the time indicated, judge as NG.

Judgment Value

Malfunction Criteria

Threshold Value

|Intake air temperature 30 sec. after engine start − Engine coolant temperature at engine start|

> Value of Map 3

|Intake air temperature 30 sec. after engine start − Ambient air temperature 30 sec. after engine start|

> Value of Map 4

Map 3

Ambient temperature

°C (°F)

−30

(−22)

30

(86)

45

(113)

60

(140)

|Intake air temperature 30 sec. after engine start − Engine coolant temperature at engine start|

°C (°F)

12

(21.6°F)

12

(21.6°F)

22

(39.6°F)

22

(39.6°F)

Map 4

Ambient temperature

°C (°F)

−30

(−22)

30

(86)

45

(113)

60

(140)

|Intake air temperature 30 sec. after engine start − Ambient air temperature 30 sec. after engine start|

°C (°F)

20

(36°F)

20

(36°F)

32

(57.6°F)

32

(57.6°F)

Time Needed for Diagnosis: Less than 1 second

Diagnosis 2

Judge as NG when the following conditions are established.

Judgment Value

Malfunction Criteria

Threshold Value

Output voltage difference between Max. and Min.

< 0.02 V

(Equivalent to approximately 0.5°C (0.9°F) near 25°C (77°F))

(Equivalent to approximately 0.9°C (1.6°F) near −7°C (19.4°F))

Time Needed for Diagnosis: Less than 1 second

Malfunction Indicator Light Illumination: Illuminates when malfunction occurs in 2 continuous driving cycles.

Dtc p0112 intake air temperature sensor 1 circuit low bank 1
DTC DETECTING CONDITION:Immediately at fault recognitionTROUBLE SYMPTOM:• Improper idling• Poor driving performanceCAUTION:After servicing or replacing faulty parts, perform Clear Memory M ...

Dtc p0108 manifold absolute pressure/barometric pressure sensor circuit high
DTC DETECTING CONDITION:Immediately at fault recognitionCAUTION:After servicing or replacing faulty parts, perform Clear Memory Mode Clear Memory Mode > OPERATION, and Inspection Mode Inspection Mod ...

Other materials:

Dtc p000a "a" camshaft position slow response bank 1
NOTE:For the diagnostic procedure, refer to DTC P0011. Diagnostic Procedure with Diagnostic Trouble Code (DTC) > DTC P0011 "A" CAMSHAFT POSITION - TIMING OVER-ADVANCED OR SYSTEM PERFORMANCE BANK 11. OUTLINE OF DIAGNOSISDetect the AVCS system malfunction.Judge NG when the amount of AVCS actual timin ...

© 2017-2025 Copyright www.sulegacy.com