Honda Civic manuals

Subaru Legacy BN/BS (2015-2019) Service Manual: Dtc p0112 intake air temperature sensor 1 circuit low bank 1

DTC DETECTING CONDITION:

Immediately at fault recognition

TROUBLE SYMPTOM:

Improper idling

Poor driving performance

CAUTION:

After servicing or replacing faulty parts, perform Clear Memory Mode Clear Memory Mode > OPERATION, and Inspection Mode Inspection Mode > PROCEDURE.

WIRING DIAGRAM:

Engine Electrical System ENGINE TYPE EZ (WITHOUT PUSH BUTTON START) Engine Electrical System > WIRING DIAGRAM

Engine Electrical System ENGINE TYPE EZ (WITH PUSH BUTTON START) Engine Electrical System > WIRING DIAGRAM

STEPCHECKYESNO

1.CHECK CURRENT DATA.

1) Start the engine.

2) Read the value of «Intake Air Temp.» using the Subaru Select Monitor or a general scan tool.

NOTE:

Subaru Select Monitor

For detailed operation procedures, refer to “Read Current Data For Engine”. Subaru Select Monitor

General scan tool

For detailed operation procedures, refer to the general scan tool operation manual.

Is the value of «Intake Air Temp.» 120°C (248°F) or more-

Diagnostic Procedure with Diagnostic Trouble Code (DTC) > DTC P0112 INTAKE AIR TEMPERATURE SENSOR 1 CIRCUIT LOW BANK 1

Even if DTC is detected, the circuit has returned to a normal condition at this time. Reproduce the failure, and then perform the diagnosis again.

NOTE:

In this case, temporary poor contact of connector, temporary open or short circuit of harness may be the cause.

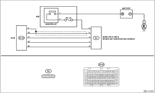
2.CHECK HARNESS BETWEEN ECM AND MASS AIR FLOW AND INTAKE AIR TEMPERATURE SENSOR CONNECTOR.

1) Turn the ignition switch to OFF.

2) Disconnect the connector from ECM and the mass air flow and intake air temperature sensor.

3) Measure the resistance between ECM connector and chassis ground.

Connector & terminal

(B134) No. 15 — Chassis ground:

Is the resistance 1 M- or more-

Replace the mass air flow and intake air temperature sensor. Mass Air Flow and Intake Air Temperature Sensor

Repair the ground short circuit of harness between ECM connector and the mass air flow and intake air temperature sensor connector.

1. OUTLINE OF DIAGNOSIS

Detect open or short circuit of the intake air temperature sensor.

Judge as NG if out of specification.

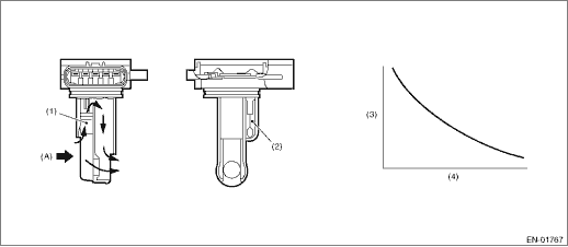
2. COMPONENT DESCRIPTION

(A)

Air

(1)

Air flow sensor

(3)

Resistance value (-)

(4)

Intake air temperature °C (°F)

(2)

Intake air temperature sensor

3. EXECUTION CONDITION

Secondary Parameters

Execution condition

None

4. GENERAL DRIVING CYCLE

Always perform the diagnosis continuously.

5. DIAGNOSTIC METHOD

If the duration of time while the following conditions are met is longer than the time indicated, judge as NG.

Judgment Value

Malfunction Criteria

Threshold Value

Output voltage

< 0.4 V

Time Needed for Diagnosis: 500 ms

Malfunction Indicator Light Illumination: Illuminates as soon as a malfunction occurs.

Dtc p0113 intake air temperature sensor 1 circuit high bank 1
DTC DETECTING CONDITION:Immediately at fault recognitionTROUBLE SYMPTOM:• Improper idling• Poor driving performanceCAUTION:After servicing or replacing faulty parts, perform Clear Memory M ...

Dtc p0111 intake air temperature sensor 1 circuit range/performance bank 1
DTC DETECTING CONDITION:Detected when two consecutive driving cycles with fault occur.TROUBLE SYMPTOM:• Improper idling• Poor driving performanceCAUTION:After servicing or replacing faulty ...

Other materials:

Dtc p0131 a/f / o2 sensor circuit low voltage bank 1 sensor 1
DTC DETECTING CONDITION:Immediately at fault recognitionCAUTION:After servicing or replacing faulty parts, perform Clear Memory Mode Clear Memory Mode > OPERATION, and Inspection Mode Inspection Mode > PROCEDURE.WIRING DIAGRAM:• Engine Electrical System ENGINE TYPE FB (WITHOUT PUSH BUTTON ST ...

© 2017-2025 Copyright www.sulegacy.com