Honda Civic manuals

Subaru Legacy BN/BS (2015-2019) Service Manual: Dtc p0459 evap system (cpc) purge control valve "a" circuit high

DTC DETECTING CONDITION:

Detected when two consecutive driving cycles with fault occur.

TROUBLE SYMPTOM:

Improper idling

CAUTION:

After servicing or replacing faulty parts, perform Clear Memory Mode Clear Memory Mode > OPERATION, and Inspection Mode Inspection Mode > PROCEDURE.

WIRING DIAGRAM:

Engine Electrical System ENGINE TYPE EZ (WITHOUT PUSH BUTTON START) Engine Electrical System > WIRING DIAGRAM

Engine Electrical System ENGINE TYPE EZ (WITH PUSH BUTTON START) Engine Electrical System > WIRING DIAGRAM

STEPCHECKYESNO

1.CHECK HARNESS BETWEEN ECM AND PURGE CONTROL SOLENOID VALVE.

1) Turn the ignition switch to OFF.

2) Disconnect the connectors from ECM and purge control solenoid valve.

3) Turn the ignition switch to ON.

4) Measure the voltage between ECM connector and chassis ground.

Connector & terminal

(E158) No. 51 (+) — Chassis ground (−):

Is the voltage 10 V or more-

Repair the short circuit to power in the harness between ECM connector and purge control solenoid valve connector.

Diagnostic Procedure with Diagnostic Trouble Code (DTC) > DTC P0459 EVAP SYSTEM (CPC) PURGE CONTROL VALVE "A" CIRCUIT HIGH

2.CHECK PURGE CONTROL SOLENOID VALVE.

1) Turn the ignition switch to OFF.

2) Measure the resistance between purge control solenoid valve terminals.

Terminals

No. 1 — No. 2:

Is the resistance less than 1 --

Replace the purge control solenoid valve. Purge Control Solenoid Valve

Repair the poor contact of ECM connector.

1. OUTLINE OF DIAGNOSIS

Detect open or short circuit of the purge control solenoid valve.

Judge as NG when the ECM output level differs from the actual terminal level.

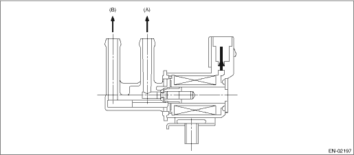
2. COMPONENT DESCRIPTION

(A)

To canister

(B)

To intake manifold

3. EXECUTION CONDITION

Secondary Parameters

Execution condition

Battery voltage

≥ 10.9 V

Purge control solenoid valve control duty

≥ 0.25 - 100%

4. GENERAL DRIVING CYCLE

Perform the diagnosis continuously after the enable conditions have been established.

5. DIAGNOSTIC METHOD

If the duration of time while the following conditions are met is longer than the time indicated, judge as NG.

Judgment Value

Malfunction Criteria

Threshold Value

Terminal output current

≥ 12 A

Time Needed for Diagnosis: 2500 ms

Malfunction Indicator Light Illumination: Illuminates when malfunction occurs in 2 continuous driving cycles.

Dtc p0461 fuel level sensor "a" circuit range/performance
DTC DETECTING CONDITION:Detected when two consecutive driving cycles with fault occur.CAUTION:After servicing or replacing faulty parts, perform Clear Memory Mode Clear Memory Mode > OPERATION, and I ...

Dtc p0458 evap system (cpc) purge control valve "a" circuit low
DTC DETECTING CONDITION:Detected when two consecutive driving cycles with fault occur.TROUBLE SYMPTOM:Improper idlingCAUTION:After servicing or replacing faulty parts, perform Clear Memory Mode Clear ...

Other materials:

Dtc b1648 side satellite sensor bus lh initialization error
DIAGNOSIS START CONDITION:Ignition voltage is 10 V to 16 V.DTC DETECTING CONDITION:Side sensor LH bus line communication initialization error (open/short circuit or connector connection failure between airbag CM and side airbag sensor LH, open/short circuit or connector connection failure between si ...

© 2017-2026 Copyright www.sulegacy.com