Honda Civic manuals

Subaru Legacy BN/BS (2015-2019) Service Manual: Dtc p2016 tgv position sensor/switch circuit low bank 1

DTC DETECTING CONDITION:

Immediately at fault recognition

TROUBLE SYMPTOM:

Improper idling

Engine stalls.

Poor driving performance

CAUTION:

After servicing or replacing faulty parts, perform Clear Memory Mode Clear Memory Mode > OPERATION, and Inspection Mode Inspection Mode > PROCEDURE.

WIRING DIAGRAM:

Engine Electrical System ENGINE TYPE FB (WITHOUT PUSH BUTTON START) Engine Electrical System > WIRING DIAGRAM

Engine Electrical System ENGINE TYPE FB (WITH PUSH BUTTON START) Engine Electrical System > WIRING DIAGRAM

STEPCHECKYESNO

1.CHECK CURRENT DATA.

1) Start the engine.

2) Read the value of «TGV Position Sensor R» using the Subaru Select Monitor.

NOTE:

For detailed operation procedures, refer to “Current Data Display For Engine”. Subaru Select Monitor

Is the value of «TGV Position Sensor R» less than 0.2 V-

Diagnostic Procedure with Diagnostic Trouble Code (DTC) > DTC P2016 TGV POSITION SENSOR/SWITCH CIRCUIT LOW BANK 1

Even if DTC is detected, the circuit has returned to a normal condition at this time. Reproduce the failure, and then perform the diagnosis again.

NOTE:

In this case, temporary poor contact of connector, temporary open or short circuit of harness may be the cause.

2.CHECK POWER SUPPLY OF TUMBLE GENERATOR VALVE ACTUATOR RH.

1) Turn the ignition switch to OFF.

2) Disconnect the connector from tumble generator valve actuator RH.

3) Turn the ignition switch to ON.

4) Measure the voltage between tumble generator valve actuator RH connector and engine ground.

Connector & terminal

(E55) No. 3 (+) — Engine ground (−):

Is the voltage 4.5 V or more-

Diagnostic Procedure with Diagnostic Trouble Code (DTC) > DTC P2016 TGV POSITION SENSOR/SWITCH CIRCUIT LOW BANK 1

Repair the harness and connector.

NOTE:

In this case, repair the following item:

Open circuit in harness between ECM connector and tumble generator valve actuator RH connector

Poor contact of ECM connector

3.CHECK HARNESS BETWEEN ECM AND TUMBLE GENERATOR VALVE ACTUATOR RH CONNECTOR.

1) Turn the ignition switch to OFF.

2) Disconnect the connector from ECM.

3) Measure the resistance of harness between ECM connector and tumble generator valve actuator RH connector.

Connector & terminal

(E158) No. 47 — (E55) No. 1:

Is the resistance less than 1 --

Diagnostic Procedure with Diagnostic Trouble Code (DTC) > DTC P2016 TGV POSITION SENSOR/SWITCH CIRCUIT LOW BANK 1

Repair the open circuit in harness between ECM connector and tumble generator valve actuator RH connector.

4.CHECK HARNESS BETWEEN ECM AND TUMBLE GENERATOR VALVE ACTUATOR RH CONNECTOR.

Measure the resistance between the ECM connector and engine ground.

Connector & terminal

(E158) No. 47 — Engine ground:

Is the resistance 1 M- or more-

Diagnostic Procedure with Diagnostic Trouble Code (DTC) > DTC P2016 TGV POSITION SENSOR/SWITCH CIRCUIT LOW BANK 1

Repair the short circuit to ground in harness between ECM connector and tumble generator valve actuator RH connector.

5.CHECK FOR POOR CONTACT.

Check for poor contact of ECM and tumble generator valve actuator RH connector.

Is there poor contact of ECM or the tumble generator valve actuator RH connector-

Repair the poor contact of ECM or tumble generator valve actuator RH connector.

Replace the tumble generator valve actuator RH. Tumble Generator Valve

1. OUTLINE OF DIAGNOSIS

Detect open or short circuit of tumble generator valve position sensor.

Judge as NG if out of specification.

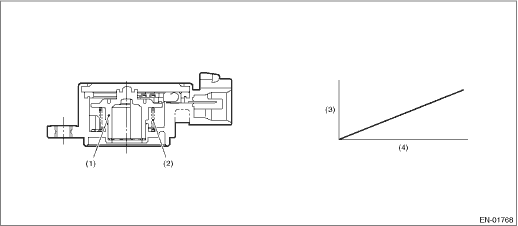
2. COMPONENT DESCRIPTION

(1)

Rotor

(3)

Voltage (V)

(4)

Tumble generator valve opening angle (°)

(2)

Return spring

3. EXECUTION CONDITION

Secondary Parameters

Execution condition

None

4. GENERAL DRIVING CYCLE

Always perform the diagnosis continuously.

5. DIAGNOSTIC METHOD

If the duration of time while the following conditions are met is longer than the time indicated, judge as NG.

Judgment Value

Malfunction Criteria

Threshold Value

Output voltage

< 0.213 V

Time Needed for Diagnosis: 500 ms

Malfunction Indicator Light Illumination: Illuminates as soon as a malfunction occurs.

Dtc p2017 tgv position sensor/switch circuit high bank 1
DTC DETECTING CONDITION:Immediately at fault recognitionTROUBLE SYMPTOM:• Improper idling• Engine stalls.• Poor driving performanceCAUTION:After servicing or replacing faulty parts, ...

Dtc p2012 tgv control circuit low bank 2
DTC DETECTING CONDITION:Immediately at fault recognitionCAUTION:After servicing or replacing faulty parts, perform Clear Memory Mode Clear Memory Mode > OPERATION, and Inspection Mode Inspection Mod ...

Other materials:

Dtc p0617 starter relay "a" circuit high
1. MODEL WITHOUT PUSH BUTTON STARTDTC DETECTING CONDITION:Immediately at fault recognitionTROUBLE SYMPTOM:Failure of engine to startCAUTION:After servicing or replacing faulty parts, perform Clear Memory Mode Clear Memory Mode > OPERATION, and Inspection Mode Inspection Mode > PROCEDURE.WIRING DIA ...

© 2017-2026 Copyright www.sulegacy.com