Honda Civic manuals

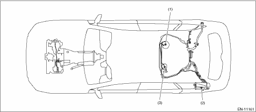
Subaru Legacy BN/BS (2015-2019) Service Manual: Electrical component location location

1. CONTROL MODULE

(1)

Engine control module (ECM)

(3)

Malfunction indicator light

(4)

Delivery (test) mode fuse

(2)

Data link connector

2. SENSOR

(1)

Tumble generator valve actuators (with built-in opening angle switch)

(5)

Battery sensor

(8)

Engine coolant temperature sensor

(2)

Electronic throttle control

(6)

Intake camshaft position sensor

(9)

Knock sensor

(3)

Manifold absolute pressure sensor

(7)

Engine oil temperature sensor

(10)

Mass air flow and intake air temperature sensor

(4)

Crankshaft position sensor

(1)

Front oxygen (A/F) sensor

(3)

Rear oxygen sensor

(4)

Rear catalytic converter

(2)

Front catalytic converter

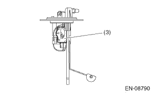
(1)

Fuel level sensor

(2)

Leak check valve ASSY (with built-in pressure sensor)

(3)

Fuel sub level sensor

3. SOLENOID VALVE, ACTUATOR, EMISSION CONTROL SYSTEM PARTS AND IGNITION SYSTEM PARTS

(1)

Fuel injector

(3)

Purge control solenoid valve

(5)

Intake oil control solenoid

(2)

Tumble generator valve actuator

(4)

Ignition coil

(6)

EGR control valve

(1)

Leak check valve ASSY

(2)

Canister

(3)

Drain filter

(1)

Starter

(6)

Starter cut relay

(11)

Electronic throttle control relay

(2)

Fuel pump

(7)

Push button ignition switch

(12)

Fuel pump relay

(3)

IG1 relay

(8)

Radiator main fan relay 2

(13)

Main relay

(4)

Starter relay

(9)

Radiator main fan relay 1

(14)

IG1 relay (push button start)

(5)

IG2 relay

(10)

Radiator sub fan relay

4. TRANSMISSION

(1)

Inhibitor switch (CVT model)

(2)

Neutral position switch (MT model)

Data link connector note
This connector is used for Subaru Select Monitor.CAUTION:Do not connect any scan tools other than Subaru Select Monitor or general scan tool because the circuit for Subaru Select Monitor may be damage ...

General diagnostic table inspection
1. ENGINENOTE:Malfunction of parts other than those listed is also possible. Engine Trouble in GeneralSymptomsFaulty parts1. Engine stalls during idling.1) Manifold absolute pressure sensor2) Mass ai ...

Other materials:

Check adaptive cruise control indicator light/constant speed cruise control indicator light and cruise set indicator light
TROUBLE SYMPTOM:Adaptive cruise control or conventional cruise control can be set, but adaptive cruise control indicator light/constant speed cruise control indicator light and cruise SET indicator light do not illuminate.STEPCHECKYESNO1.CHECK ADAPTIVE CRUISE CONTROL INDICATOR LIGHT/CONSTANT SPEED C ...

© 2017-2026 Copyright www.sulegacy.com