Honda Civic manuals

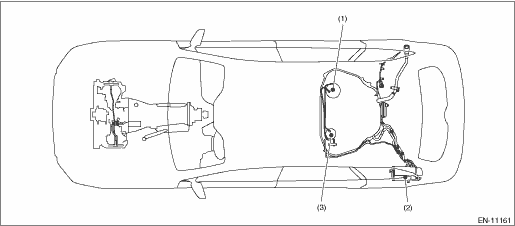
Subaru Legacy BN/BS (2015-2019) Service Manual: Electrical component location location

1. CONTROL MODULE

(1)

Engine control module (ECM)

(3)

Data link connector

(5)

Delivery (test) mode fuse

(2)

Fuel pump control module (ECM)

(4)

Malfunction indicator light

Sedan model

OUTBACK model

2. SENSOR

(1)

Mass air flow and intake air temperature sensor

(5)

Crankshaft position sensor

(8)

Exhaust camshaft position sensor

(2)

Intake camshaft position sensor

(6)

Knock sensor

(9)

Engine oil temperature sensor

(3)

Manifold absolute pressure sensor

(7)

Battery sensor

(10)

Engine coolant temperature sensor

(4)

Electronic throttle control

(1)

Front oxygen (A/F) sensor RH

(4)

Rear catalytic converter RH

(7)

Front catalytic converter LH

(2)

Front catalytic converter RH

(5)

Rear catalytic converter LH

(8)

Front oxygen (A/F) sensor LH

(3)

Rear oxygen sensor RH

(6)

Rear oxygen sensor LH

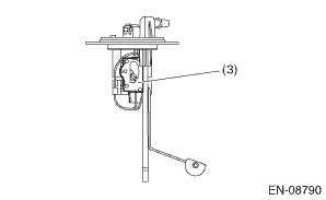
(1)

Fuel level sensor

(2)

Leak check valve ASSY (with built-in pressure sensor)

(3)

Fuel sub level sensor

3. SOLENOID VALVE, ACTUATOR, EMISSION CONTROL SYSTEM PARTS AND IGNITION SYSTEM PARTS

(1)

Fuel injector

(3)

EGR control valve

(5)

Intake oil flow control solenoid valve

(2)

Purge control solenoid valve

(4)

Ignition coil

(6)

Exhaust oil flow control solenoid valve

(1)

Leak check valve ASSY

(2)

Canister

(3)

Drain filter

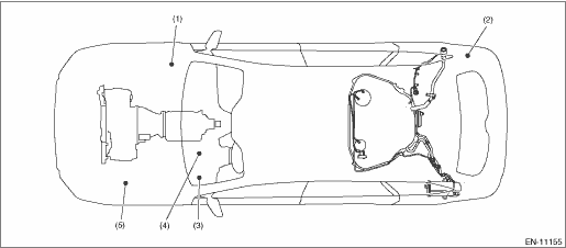
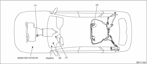
(1)

Starter

(6)

Starter cut relay

(11)

Fuel pump relay

(2)

Fuel pump

(7)

Push button ignition switch

(12)

Main relay

(3)

IG1 relay

(8)

Electronic throttle control relay

(13)

IG1 relay (push button start)

(4)

Starter relay

(9)

Main fan relay

(5)

IG2 relay

(10)

Sub fan relay

Data link connector note
This connector is used for Subaru Select Monitor.CAUTION:Do not connect any scan tools other than Subaru Select Monitor or general scan tool because the circuit for Subaru Select Monitor may be damage ...

General diagnostic table inspection
NOTE:Malfunction of parts other than those listed is also possible. Engine Trouble in GeneralSymptomsFaulty parts1. Engine stalls during idling.1) Manifold absolute pressure sensor2) Mass air flow an ...

Other materials:

Dtc u0427 invalid data received from vehicle security control module
DTC DETECTING CONDITION:Defective data was transmitted from keyless access CM.TROUBLE SYMPTOM:Cooperation control of keyless access does not operate properly.STEPCHECKYESNO1.CHECK PERFORMING OF BASIC DIAGNOSTIC PROCEDURE.Was the basic diagnostic procedure performed up to STEP 8- Diagnostic Procedure ...

© 2017-2025 Copyright www.sulegacy.com