Honda Civic manuals

Subaru Legacy BN/BS (2015-2019) Service Manual: Inspection

Disassembled parts should be washed with cleaning solvent first, then inspected carefully.

1. Bearing

Replace the bearings in the following cases.

When the bearing balls, outer races and inner races are broken or rusty.

When the bearing is worn.

When the bearings fail to turn smoothly or emit noise in rotation after transmission gear oil has been applied.

The double ball bearing of the drive pinion shaft should be checked for smooth rotation before the drive pinion shaft assembly is disassembled. In this case, because a preload is working on the bearing, its rotation feels like it is slightly dragging unlike other bearings.

(A)

Drive pinion shaft

(B)

Double ball bearing

When bearing has other defects.

2. Bushing (each gear)

Replace the bushing in following cases.

When the sliding surface is damaged or abnormally worn.

When the inner wall is abnormally worn.

3. Gear

Replace gears in the following cases.

Replace the gear with new part if its tooth surfaces are broken, damaged or excessively worn.

Correct or replace if the cone that contacts the baulk ring is rough or damaged.

Correct or replace if the inner surface or end face is damaged.

4. Baulk ring, synchro cone

Replace the baulk ring and synchro cone in the following cases.

When the inner surface and end face are damaged.

When the baulk ring inner surface is abnormally or partially worn down.

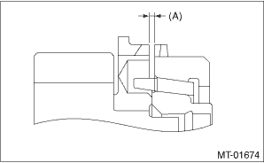
If the gap between the end faces of the baulk ring and the gear splined part is excessively small, check the clearance (A) while pressing the ring against the cone.

Clearance (A):

0.5 mm (0.020 in) or more

When the contact surface of the baulk ring insert section is damaged or abnormally worn.

Apply transmission gear oil to the cone of the gear and while press-fitting the baulk ring, check there is no rotation in the circumferential direction.

5. Coupling sleeve and synchronizer hub

Check the slipping condition of the coupling sleeve.

Check the splines on the coupling sleeve and synchronizer hub for wear.

6. Shifting insert

Replace the shifting insert if there is deformation, excessive wear on the ball section or any defectiveness.

Installation
1. Remove the front differential assembly.2. Hypoid gear set match mark/No.: The number (A) on top of the drive pinion, and the number on the hypoid driven gear are set numbers for the two gears. Use ...

Disassembly
NOTE:• Attach a cloth to the end of driven shaft (on the frictional side of the thrust needle bearing) to prevent damage during disassembly or reassembly.• When replacing the coupling slee ...

Other materials:

Read diagnostic trouble code (dtc) operation
1. On «Start» display, select «Diagnosis».2. On «Vehicle selection» display, input the target vehicle information and select «Confirmed».3. On «Main Menu» display, select «Each System».4. On «Select System» display, select «Air Conditioner» and select «Enter».5. On «Select Functio ...

© 2017-2025 Copyright www.sulegacy.com