Honda Civic manuals

Subaru Legacy BN/BS (2015-2019) Service Manual: Inspection

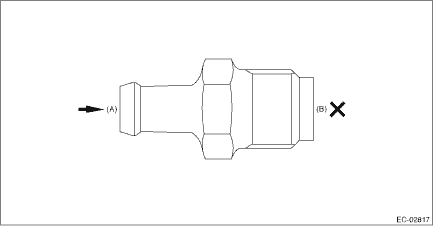
1. PCV VALVE

1. Check that the PCV valve has no deformation, cracks or other damages.

2. Check that air is discharged from (B) when air is blown into (A).

3. Check that air does not come out from (B) when air is blown into (A).

2. OTHER INSPECTIONS

Check that the PCV hose has no cracks, damage or loose part.

Removal
CAUTION:Do not remove unless the PCV valve is broken.1. Remove the collector cover.(1) Carefully pull up the rear of collector cover at two positions (A).(2) Carefully pull up the front of collector c ...

Installation
1. Install the PCV valve to the rocker cover.NOTE:Apply liquid gasket to the bolt threads of PCV valve.Liquid gasket:THREE BOND 1324 (Part No. 004403042) or equivalentTightening torque:25 N·m ( ...

Other materials:

Dtc b1908 short in front p/t lh (to +b)
DIAGNOSIS START CONDITION:Ignition voltage is 10 V to 16 V.DTC DETECTING CONDITION:Short circuit failure in power supply (shorted in rear harness power supply, shorted in front seat pretensioner LH power supply, shorted in airbag CM internal circuit power supply)CAUTION:Before performing diagnosis, ...

© 2017-2025 Copyright www.sulegacy.com