Honda Civic manuals

Subaru Legacy BN/BS (2015-2019) Service Manual: Installation

Install in the reverse order of removal while being careful of the following.

1. EVAPORATION PIPE INSTALLATION

1. Install the evaporation pipe to the vehicle.

2. Install the evaporation pipe protector.

Tightening torque:

T1: 1 N·m (0.1 kgf-m, 0.7 ft-lb)

T2: 7.5 N·m (0.7 kgf-m, 5.4 ft-lb)

3. Install the trunk trim panel assembly - side on RH side. (Sedan model) Rear Quarter Trim > INSTALLATION

4. Install the right side rear quarter trim. (OUTBACK model) Rear Quarter Trim > INSTALLATION

5. Install the evaporation hose.

6. Install the rear mud guard RH. Mud Guard > INSTALLATION

2. CONNECTING THE FUEL LINE QUICK CONNECTOR

CAUTION:

Make sure there are no damage or dust on connections. If necessary, clean seal surface of pipe.

(a)

When removed using the ST

(c)

Seal surface

(b)

When removed without using the ST

(d)

Pipe

When reusing the retainer, make sure that neither scratches nor deformation exist on the retainer. If it is faulty, use a new part.

Connect the quick connector.

CAUTION:

Make sure that the quick connector is securely connected.

(a)

Quick connector

(b)

Retainer

(c)

Pipe

Make sure the two retainer pawls are engaged in their mating positions in the quick connector.

Be sure to inspect tubes and their connections for any leakage of fuel.

Holding the portion (f) shown in the figure, push in the connector in axial direction.

When connecting the connector, do not bend or twist the tube forcibly. If the tube is bent, replace with a new part.

(a)

When removed using the ST

(c)

Quick connector

(e)

Pipe

(b)

When removed without using the ST

(d)

Retainer

(f)

Connector holding position

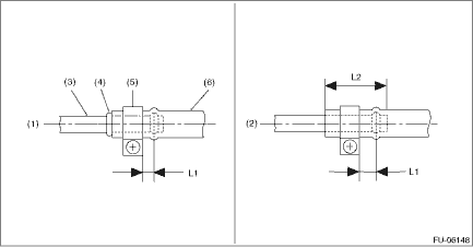
3. CONNECTING THE FUEL DELIVERY HOSE

Connect the fuel delivery hose as shown in the figure.

CAUTION:

If the connection portion has a spool or stopper, do not allow the end of the hose to bend or ride over by inserting the hose too deep.

Be sure to inspect hoses and their connections for any leakage of fuel.

NOTE:

Use a new fuel delivery hose.

Tightening torque:

1.25 N·m (0.1 kgf-m, 0.9 ft-lb)

L1: 2.5±1.5 mm (0.098±0.059 in)

L2: 22.5±2.5 mm (0.886±0.098 in)

(1)

When there is a spool or bump

(3)

Pipe

(5)

Clamp

(2)

When there is no spool or bump

(4)

Spool or bump

(6)

Hose

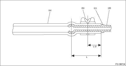
4. EVAPORATION HOSE CONNECTION

Connect the evaporation hose by inserting it to the pipe until the hose reaches the spool or bump.

NOTE:

If there is no spool nor bump, connect the evaporation hose by inserting it at 28 mm (1.1 in) to the pipe.

(a)

Hose

(c)

Spool or bump

(d)

Pipe

(b)

Clip

5. CONNECTING THE EVAPORATION LINE QUICK CONNECTOR

Connect the quick connector as shown in the figure.

CAUTION:

Check that there is no damage or dust on the quick connector. If necessary, clean the seal surface of the pipe.

When connecting the quick connector, make sure to insert it all the way in before locking the slider.

When it is difficult to lock the slider, check that the connector is fully inserted.

After locking the slider, check again that the quick connector is securely connected.

(a)

Slider

Inspection
1. Check that the fuel pipe has no deformation, cracks or other damages.2. Check that the hose and tube have no cracks, damage or loose part. ...

Fuel filler pipe
...

Other materials:

Basic diagnostic procedure procedure
STEPCHECKYESNO1.PERFORM CUSTOMER INTERVIEW.Using the Check List for Interview, ask the customer the condition of how the trouble occurred.Did you interview the customer- Basic Diagnostic Procedure > PROCEDUREInterview the customer. Check List for Interview > CHECK2.CHECK LAN SYSTEM.Inspect LAN syst ...

© 2017-2026 Copyright www.sulegacy.com