Honda Civic manuals

Subaru Legacy BN/BS (2015-2019) Service Manual: Installation

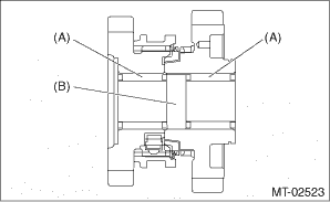
NOTE:

Rotate the reverse idler sub gear by two teeth from free status in the direction of the arrow to make it engage with the reverse gear of the main shaft and install the main shaft assembly.

(A)

Free status

(B)

Set status

(C)

Reverse idler sub gear

(D)

Reverse idler gear

1. Install the reverse idler gear bushing with the cutout portion of the reverse idler gear bushing facing the front of the transmission.

2. Assembling reverse idler gear assembly

(1) Install the reverse coupling sleeve to the reverse idler gear No. 2.

NOTE:

Install the reverse coupling sleeve in the correct direction.

Make sure that the oval-shaped cutout portion inside the reverse coupling sleeve matches the center of the reverse idler gear No. 2 groove.

(2) Install the reverse shifting insert.

NOTE:

Press in the ball part to install.

(3) Install the reverse baulk ring and reverse idler gear.

(A)

Reverse idler gear

(B)

Reverse baulk ring

(4) Install the needle bearing and reverse idler gear collar.

(A)

Needle bearing

(B)

Reverse idler gear collar

(5) Install the thrust bearing and reverse idler gear washer.

NOTE:

Install the thrust bearing in the correct direction.

3. Install the assembled reverse idler gear assembly to the transmission case and hold it with hands.

4. Install the reverse idler gear shaft.

NOTE:

Install with the cutout portion of the reverse idler gear shaft facing the RH side of the transmission case.

Make sure that the groove of the reverse idler gear shaft comes out of the reverse idler gear bushing.

(A)

Cutout portion of the reverse idler gear shaft

(B)

Snap ring installation groove

5. Install the reverse idler gear shaft securing bolt.

Tightening torque:

25 N·m (2.5 kgf-m, 18.4 ft-lb)

6. Install the snap ring.

7. Select the reverse idler gear bushing. Reverse Idler Gear > ADJUSTMENT

8. Remove the reverse idler gear assembly and replace with the selected bushing. Reverse Idler Gear > REMOVAL

9. Install the reverse idler gear assembly, oil case guide and reverse idler gear shaft.

NOTE:

Install with the cutout portion of the reverse idler gear shaft facing the RH side of the transmission case.

Make sure that the groove of the reverse idler gear shaft comes out of the reverse idler gear bushing.

Insert the cutout portion of the reverse idler gear bushing into the oil case guide.

(A)

Oil case guide

10. Install the reverse idler gear shaft securing bolt.

NOTE:

Use a new gasket.

Tightening torque:

25 N·m (2.5 kgf-m, 18.4 ft-lb)

11. Install the snap ring.

12. Check the reverse shifter fork. Shifter Fork and Rod > INSPECTION

13. Install the front differential assembly. Front Differential Assembly > INSTALLATION

14. Install the main shaft assembly. Main Shaft Assembly > INSTALLATION

15. Install the drive pinion shaft assembly. Drive Pinion Shaft Assembly > INSTALLATION

16. Install the transmission case. Transmission Case > INSTALLATION

17. Install the transfer case together with the extension case assembly. Transfer Case and Extension Case Assembly > INSTALLATION

18. Install the back-up light switch and the neutral position switch. Switches and Harness > INSTALLATION

19. Install the manual transmission assembly to the vehicle. Manual Transmission Assembly > INSTALLATION

Adjustment
1. Select the appropriate reverse idler gear bushing from the table below, and adjust until the clearance between the reverse idler gear and reverse idler gear washer is within specification.Clearance ...

Inspection
1. Check the clearance between the reverse idler gear bushing and reverse idler gear washer. If the value is out of specification, select the appropriate reverse idler gear bushing and adjust.Clearanc ...

Other materials:

Reporting safety defects (USA)
If you believe that your vehicle has a defect which could cause a crash or could cause injury or death, you should immediately inform the National Highway Traffic Safety Administration (NHTSA) in addition to notifying Subaru of America, Inc. If NHTSA receives similar complaints, it may op ...

© 2017-2026 Copyright www.sulegacy.com