Honda Civic manuals

Subaru Legacy BN/BS (2015-2019) Service Manual: Installation

1. V-BELT

1. Attach the tool to the V-belt tensioner assembly, and rotate the tool clockwise to remove the V-belt as shown in the figure.

CAUTION:

When reusing the V-belt, wipe off dust and water with cloth.

Do not use the V-belt if there is any oil, grease or coolant on the belt.

Be careful not to rub the V-belt end surface with bare hands; exposed core may cause injury.

Wipe off any dust, oil and water on the groove of each pulley with cloth.

(A)

V-belt

(D)

V-belt tensioner ASSY

(G)

A/C compressor pulley

(B)

Water pump pulley

(E)

Generator pulley

(C)

Crank pulley

(F)

Idler pulley

2. When working on the vehicle

NOTE:

When working on the vehicle, perform the following steps also.

(1) Install the V-belt cover.

Tightening torque:

6.5 N·m (0.7 kgf-m, 4.8 ft-lb)

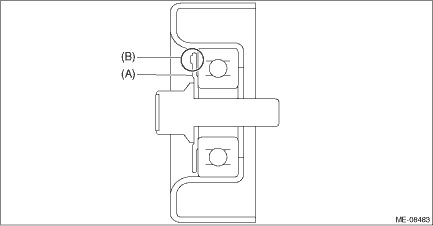
2. V-BELT TENSIONER ASSEMBLY

1. Install the V-belt tensioner assembly.

NOTE:

When installing the V-belt tensioner assembly, insert the protrusion of V-belt tensioner assembly into the hole for preventing rotation at the generator bracket.

(A)

V-belt tensioner ASSY

(C)

Hole to prevent rotation

(D)

Protrusion portion

(B)

Generator bracket

Tightening torque:

25 N·m (2.5 kgf-m, 18.4 ft-lb)

2. Install the V-belts. V-belt > INSTALLATION

3. IDLER PULLEY

1. Install the idler pulley.

NOTE:

When installing the idler pulley, be careful of the idler pulley cover direction.

(A)

Idler pulley cover

(B)

Protrusion (3 places)

Tightening torque:

36 N·m (3.7 kgf-m, 26.6 ft-lb)

2. Install the V-belts. V-belt > INSTALLATION

Inspection
1. Check the V-belt for cracks, tear or wear.2. Check the V-belt tensioner assembly and idler pulley for deformation, cracks or other damages.3. Check that the V-belt ribs are securely placed on the r ...

Mechanical(h6do)
...

Other materials:

Dtc p1493 coil 1 egr "a" control circuit high
NOTE:For the diagnostic procedure, refer to DTC P1499. Diagnostic Procedure with Diagnostic Trouble Code (DTC) > DTC P0851 PARK/NEUTRAL SWITCH INPUT CIRCUIT LOW1. OUTLINE OF DIAGNOSISDetects open or short circuit of EGR.Judge as NG when the ECM output level differs from the actual terminal level.2. ...

© 2017-2026 Copyright www.sulegacy.com