Honda Civic manuals

Subaru Legacy BN/BS (2015-2019) Service Manual: Installation

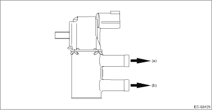
1. Install the purge control solenoid valve, and connect the connector and vacuum hose to the purge control solenoid valve.

NOTE:

Connect the vacuum hose as shown in the figure.

(a)

To intake manifold

(b)

To fuel pipe

Tightening torque:

19 N·m (1.9 kgf-m, 14.0 ft-lb)

2. Install the air intake boot. Air Intake Boot > INSTALLATION

3. Connect the ground terminal to battery sensor. NOTE

4. Install the collector cover.

Inspection
1. PURGE CONTROL SOLENOID VALVE1. Check that the purge control solenoid valve has no deformation, cracks or other damages.2. Measure the resistance between the purge control solenoid valve terminals.T ...

Rear catalytic converter
...

Other materials:

Bulkhead wiring harness (in engine compartment) lh location
ConnectorConnecting toNo.PoleColorAreaNo.DescriptionAB132YC-3 Front sub sensor LHB53GrD-3 Daytime running light resistorB85GrB-5 Front wiper motorB92BC-4B67Battery current & temperature sensorB141BB-4 Starter motorB152GrC-5 Front ABS wheel speed sensor LHB162GrB-5 Brake fluid level switchB441BD-4 Ho ...

© 2017-2025 Copyright www.sulegacy.com