Honda Civic manuals

Subaru Legacy BN/BS (2015-2019) Service Manual: Preparation for overhaul procedure

1. Clean oil, grease, dirt and dust from the transmission.

2. Using the TORX® bit T70, remove the drain plug, and drain the transmission gear oil completely.

3. Tighten the drain plug using TORX® bit T70.

NOTE:

Use a new gasket.

Tightening torque:

44 N·m (4.5 kgf-m, 32.5 ft-lb) (aluminum gasket, silver)

70 N·m (7.1 kgf-m, 51.6 ft-lb) (copper gasket, brown)

70 N·m (7.1 kgf-m, 51.6 ft-lb) (metal gasket, black)

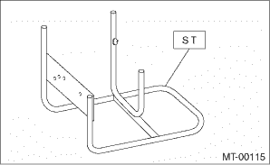
4. Attach the transmission to the ST.

ST 499937100TRANSMISSION STAND

5. Apply transmission gear oil to rotating parts before assembly.

6. All disassembled parts, if to be reused, should be reinstalled in the original positions.

7. Gaskets, lock washers and lock nuts must be replaced with new ones.

8. Apply liquid gasket to the specified areas to prevent leakage.

General diagnostic table inspection
1. MANUAL TRANSMISSIONSymptomsPossible causeCorrective action1. Gears are difficult to intermesh.NOTE:The cause for difficulty in shifting gears can be classified into two types: One is a defective ge ...

Air breather hose
...

Other materials:

Dtc b1815 short in passenger's airbag dual stage - 2nd step
DIAGNOSIS START CONDITION:Ignition voltage is 10 V to 16 V.DTC DETECTING CONDITION:Shorted between +/− lines (shorted between main harness lines, shorted between passenger’s airbag lines, shorted between airbag CM internal lines)CAUTION:Before performing diagnosis, refer to “CAUTIO ...

© 2017-2025 Copyright www.sulegacy.com