Honda Civic manuals

Subaru Legacy BN/BS (2015-2019) Service Manual: Adjustment

1. If the ball bearing is attached, remove the bearing and shims. Converter Case Cover > REMOVAL

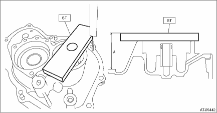
2. Using the ST, measure height “A” from the ST upper face to the mating surface of the case.

ST 398643600GAUGE

3. Measure depth “B” from the converter case cover upper face to the bearing catch surface.

4. Install the ball bearing to the reduction driven gear.

NOTE:

Use a new ball bearing.

5. Measure depth “C” from the ST upper face to the bearing end face using the ST.

ST 398643600GAUGE

6. Calculate clearance “T” using the following formula.

Formula: T mm = (C − 15) − ((A − 15) − B)

[T in = (C − 0.591) − ((A − 0.591) − B)]

T: Clearance

A: Height from the ST upper face to the converter case mating surface

B: Depth from the converter case cover upper face to the bearing catch surface

C: Depth from the ST upper face to the bearing end face

15 mm (0.591 in): Thickness of ST

Clearance “T”

mm (in)

Thickness of shim

mm (in)

0.470 — 0.569 (0.019 — 0.021)

0.4 (0.016)

0.570 — 0.669 (0.022 — 0.025)

0.5 (0.020)

0.670 — 0.769 (0.026 — 0.029)

0.6 (0.024)

0.770 — 0.869 (0.030 — 0.033)

0.7 (0.028)

0.870 — 0.980 (0.034 — 0.039)

0.8 (0.031)

7. Select one to two shims so that the total thickness meets the value obtained from above.

Part No.

Thickness of shim

mm (in)

31288AA130

0.2 (0.008)

31288AA140

0.3 (0.012)

31288AA150

0.5 (0.020)

Removal
NOTE:For removal of front reduction driven gear, refer to the “Front Reduction Drive Gear”. Front Reduction Drive Gear > REMOVAL ...

Installation
NOTE:For installation of front reduction driven gear, refer to the “Front Reduction Drive Gear”. Front Reduction Drive Gear > INSTALLATION ...

Other materials:

Dtc p0117 engine coolant temperature sensor 1 circuit low
DTC DETECTING CONDITION:Immediately at fault recognitionTROUBLE SYMPTOM:• Hard to start• Improper idling• Poor driving performanceCAUTION:After servicing or replacing faulty parts, perform Clear Memory Mode Clear Memory Mode > OPERATION, and Inspection Mode Inspection Mode > PROC ...

© 2017-2025 Copyright www.sulegacy.com