Honda Civic manuals

Subaru Legacy BN/BS (2015-2019) Service Manual: Adjustment

1. Shift the select lever to “N” range.

2. Lift up the vehicle.

3. Remove the center exhaust pipe. (2.5 L model) Center Exhaust Pipe > REMOVAL

4. Remove the front exhaust pipe and rear exhaust pipe. (3.6 L model) Front Exhaust Pipe > REMOVAL Rear Exhaust Pipe > REMOVAL

5. Remove the center exhaust cover.

6. Loosen the nuts on both sides.

(A)

Nut A

(B)

Nut B

7. Turn the nut B until it lightly touches the connector.

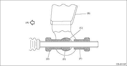
(A)

Forward side

(B)

Select lever

(C)

Connector

(D)

Nut B

(E)

Contact point

(F)

Nut A

8. Set a spanner wrench to the nut B so that it does not rotate, and then tighten the nut A.

Tightening torque:

7.5 N·m (0.8 kgf-m, 5.5 ft-lb)

(A)

Nut A

(B)

Nut B

9. After the completion of adjustment, confirm that the select lever operates normally at all ranges.

10. Install the center exhaust cover.

Tightening torque:

18 N·m (1.8 kgf-m, 13.3 ft-lb)

11. Install the center exhaust pipe. (2.5 L model) Center Exhaust Pipe > INSTALLATION

12. Install the front exhaust pipe and rear exhaust pipe. (3.6 L model) Front Exhaust Pipe > INSTALLATION Rear Exhaust Pipe > INSTALLATION

Removal
1. Shift the select lever to “N” range.2. Disconnect the ground terminal from battery sensor. NOTE3. Lift up the vehicle.4. Remove the center exhaust pipe. (2.5 L model) Center Exhaust P ...

Installation
1. Position the select cable as shown in the figure, and install it to the plate assembly.CAUTION:• If the cable is installed in the wrong direction, loosen the bracket bolts, and then reinstall ...

Other materials:

Dtc b1413 immobilizer control module battery power supply
DIAGNOSIS START CONDITION:• Battery voltage is 10 V or more.• The remote engine starter was not used to start the engine.DTC DETECTING CONDITION:Battery voltage for the immobilizer CM was outside the specification for a certain period of time.TROUBLE SYMPTOM:The security indicator does n ...

© 2017-2025 Copyright www.sulegacy.com