Honda Civic manuals

Subaru Legacy BN/BS (2015-2019) Service Manual: Adjustment

1. THRUST BEARING PRELOAD

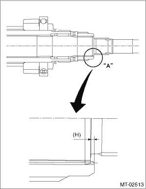
1. Select a suitable adjusting washer No. 1 so that dimension (H) will be zero in a visual check. Position the washer (20 - 31 - 4) and lock washer (20 - 31 - 2.3) and attach the lock nut (20 - 11).

2. Install the lock nut with ST1, ST2 and ST3.

NOTE:

Use new lock nuts and lock washers.

Install the lock washer in the correct direction.

Tightening torque:

126 N·m (12.8 kgf-m, 92.9 ft-lb)

ST1 18680AA020HOLDER
ST2 18667AA020HOLDER
ST3 18662AA010SOCKET (27)

(A)

Lock nut

(B)

Lock washer

(C)

Washer

(D)

Lock nut side

3. After removing the ST2 used in step 2), measure the starting torque using torque driver.

Starting torque:

0.3 — 0.8 N·m (0.03 — 0.08 kgf-m, 0.2 — 0.6 ft-lb)

ST1 18680AA020HOLDER
ST3 18662AA010SOCKET (27)

4. If the starting torque is not within the specified limit, select new adjusting washer No. 1 and recheck starting torque.

(A)

Adjusting washer No. 1

(B)

Adjusting washer No. 2

Adjusting washer No. 1

Part No.

Thickness mm (in)

803025071

2.925 (0.1152)

803025072

2.950 (0.1161)

803025073

2.975 (0.1171)

803025074

3.000 (0.1181)

803025075

3.025 (0.1191)

803025076

3.050 (0.1201)

803025077

3.075 (0.1211)

5. If the specified starting torque cannot be obtained by the selection of adjusting washer No. 1, select adjusting washer No. 2 from the list below. Repeat steps 1) through 4) to adjust starting torque.

(A)

Adjusting washer No. 1

(B)

Adjusting washer No. 2

Starting torque

Dimension H

Adjusting washer No. 2

Low

Small

Select thicker one.

High

Large

Select thinner one.

Adjusting washer No. 2

Part No.

Thickness mm (in)

803025070

2.850 (0.1122)

803025074

3.000 (0.1181)

803025078

3.150 (0.1240)

6. Recheck that the starting torque is within the specified range, and crimp the lock nut at two locations so that the dimension (B) becomes 20.1 mm (0.79 in) or less.

CAUTION:

When crimping the lock nut, be careful not to crack it.

(A)

Lock nut

(B)

Outer dimension after crimping

Removal
1. Remove the manual transmission assembly from the vehicle. Manual Transmission Assembly > REMOVAL2. Remove the transfer case together with the extension case assembly. Transfer Case and Extension ...

Installation
1. Remove the front differential assembly.2. Hypoid gear set match mark/No.: The number (A) on top of the drive pinion, and the number on the hypoid driven gear are set numbers for the two gears. Use ...

Other materials:

Dtc p0020 "a" camshaft position actuator control circuit/open bank 2
DTC DETECTING CONDITION:Immediately at fault recognitionTROUBLE SYMPTOM:Improper idlingCAUTION:After servicing or replacing faulty parts, perform Clear Memory Mode Clear Memory Mode > OPERATION, and Inspection Mode Inspection Mode > PROCEDURE.WIRING DIAGRAM:• Engine Electrical System ENGINE ...

© 2017-2026 Copyright www.sulegacy.com