Honda Civic manuals

Subaru Legacy BN/BS (2015-2019) Service Manual: Assembly

1. Install the O-ring to plug and install the plug to drive pinion retainer.

NOTE:

Use new O-rings.

Apply CVTF to the O-rings.

Tightening torque:

25 N·m (2.5 kgf-m, 18.4 ft-lb)

2. Using the ST, install the oil seal to drive pinion retainer.

NOTE:

Apply CVTF to the oil seal press-fitting surface and lip.

Install the oil seal in the correct direction.

Pulley side

ST 18657AA020OIL SEAL INSTALLER

Front differential side

ST 499277100INSTALLER

3. Measure the dimension “A” of drive pinion shaft.

ST 398643600GAUGE

4. Press-fit the new taper roller bearing front side inner race using the ST.

ST 499277200INSTALLER

5. Press-fit the new taper roller bearing rear side inner race and outer race together.

CAUTION:

Damage may result if too much force is applied to the roller bearing.

NOTE:

Press in to a position where the bearing rotates smoothly without play.

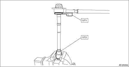
6. Tighten a new lock nut using the ST.

Using the following formula, calculate the torque for a torque wrench.

T2 = L2/(L1 + L2) - T1

T1: 130 N·m (13.3 kgf-m, 95.9 ft-lb)

L1: ST1 length 0.1 m (3.94 in)

L2: Torque wrench length m (in)

[Required torque setting]

T2: Tightening torque: N·m (kgf-m, ft-lb)

Example:

Torque wrench length

m (in)

Tightening torque

N·m (kgf-m, ft-lb)

0.4 (15.75)

104 (10.6, 76.7)

0.45 (17.72)

106 (10.8, 78.2)

0.5 (19.69)

108 (11.0, 79.7)

0.55 (21.65)

110 (11.2, 81.1)

ST1 18621AA000WRENCH
ST2 18667AA010HOLDER

NOTE:

Tighten the lock nut while directly aligning ST1 and torque wrench.

7. Apply differential gear oil to roller of bearing and rotate the bearing several times.

8. Measure the starting torque of the bearing. Make sure the starting torque is within the specified range. If the torque is not within specified range, replace the roller bearing.

Starting torque:

16.3 — 42.7 N (1.7 — 4.4 kgf, 4.4 — 9.6 lbf)

9. Crimp the lock nut in 2 locations.

10. Measure the dimension “B” of the drive pinion shaft.

ST 398643600GAUGE

11. Obtain thickness “t” mm (in) of the drive pinion shim.

t = 6.55±0.1225 − (B − A)

12. Select three or less shims from following table.

Drive pinion shim

Part No.

Thickness mm (in)

31451AA050

0.150 (0.0059)

31451AA060

0.175 (0.0069)

31451AA070

0.200 (0.0079)

31451AA080

0.225 (0.0089)

31451AA090

0.250 (0.0098)

31451AA100

0.275 (0.0108)

31451AA240

0.300 (0.0118)

13. Install the shims selected for drive pinion retainer and drive pinion shaft assembly.

NOTE:

Be careful not to bend the shim.

Tightening torque:

70 N·m (7.1 kgf-m, 51.6 ft-lb)

Disassembly
1. Remove the drive pinion assembly.2. Flatten the tab of the lock nut.3. Using ST1 and ST2, fix at the spline portion of drive pinion shaft to remove the lock nut.ST1 18621AA000WRENCHST2 18667A ...

Drive plate
...

Other materials:

Dtc b1643 side satellite sensor bus rh initialization error
DIAGNOSIS START CONDITION:Ignition voltage is 10 V to 16 V.DTC DETECTING CONDITION:Side sensor RH bus line communication initialization error (open/short circuit or connector connection failure between airbag CM and side airbag sensor RH, open/short circuit or connector connection failure between si ...

© 2017-2025 Copyright www.sulegacy.com