Honda Civic manuals

Subaru Legacy BN/BS (2015-2019) Service Manual: Disassembly

1. Remove the drive pinion assembly.

2. Flatten the tab of the lock nut.

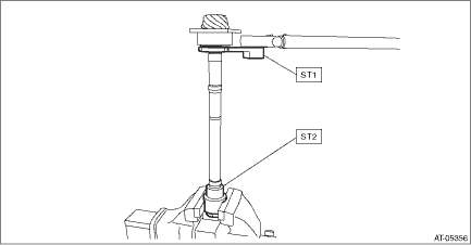
3. Using ST1 and ST2, fix at the spline portion of drive pinion shaft to remove the lock nut.

ST1 18621AA000WRENCH
ST2 18667AA010HOLDER

4. Remove the taper roller bearing and outer race from drive pinion shaft.

5. Remove the inner bearing inner race from the drive pinion shaft using ST.

ST 498077000REMOVER

6. Remove the two oil seals using a screwdriver wrapped with cloth, etc.

CAUTION:

Do not damage the fitting surface of drive pinion bearing.

7. Remove the plug from drive pinion retainer.

Inspection
• Make sure that all component parts are free of scratches, holes and other faults.• Check the tooth contact. Drive Pinion Shaft Assembly > ADJUSTMENT• Apply CVTF to bearing and rot ...

Assembly
1. Install the O-ring to plug and install the plug to drive pinion retainer.NOTE:• Use new O-rings.• Apply CVTF to the O-rings.Tightening torque:25 N·m (2.5 kgf-m, 18.4 ft-lb)2. Usi ...

Other materials:

Engine oil pressure inspection
1. Disconnect the ground terminal from battery sensor. NOTE2. Remove the oil pressure switch. Oil Pressure Switch > REMOVAL3. Install the oil pressure gauge to the installation area for the oil pressure switch of the chain cover.4. Connect the ground terminal to battery sensor. NOTE5. Start the e ...

© 2017-2025 Copyright www.sulegacy.com